Промышленная Сибирь Ярмарка Сибири Промышленность СФО Электронные торги НОУ-ХАУ Электронные магазины Карта сайта
 
 

Поиск патентов

Как искать?
Реферат
Название
Публикация
Регистрационный номер
Имя заявителя
Имя изобретателя
Имя патентообладателя

    





Оформить заказ и задать интересующие Вас вопросы Вы можете напрямую c 6-00 до 14-30 по московскому времени кроме сб, вс. whatsapp 8-950-950-9888

На данной странице представлена ознакомительная часть выбранного Вами патента

Для получения более подробной информации о патенте (полное описание, формула изобретения и т.д.) Вам необходимо сделать заказ. Нажмите на «Корзину»


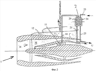
СИСТЕМА ВСАСЫВАНИЯ ДЛЯ ОТСОСА ПОГРАНИЧНОГО СЛОЯ

Номер публикации патента: 2384466

Вид документа: C2 
Страна публикации: RU 
Рег. номер заявки: 2006143163/11 
  Сделать заказПолучить полное описание патента

Редакция МПК: 
Основные коды МПК: B64C021/06    
Аналоги изобретения: RU 2084377 C1, 20.07.1997. EP 0517459 A1, 09.12.1992. US 3887147 A, 03.06.1975. EP 0778199 A2, 11.06.1997. RU 2168445 C2, 10.06.2001. 

Имя заявителя: ЭЙРБАС ДОЙЧЛАНД ГМБХ (DE) 
Изобретатели: МАЙСТЕР Юрген (DE)
ПФЕННИГ Юрген (DE) 
Патентообладатели: ЭЙРБАС ДОЙЧЛАНД ГМБХ (DE) 
Приоритетные данные: 13.05.2004 DE 10 2004 024 016.7 

Реферат


Изобретение относится к системам всасывания для отсоса пограничного слоя на летательном аппарате. Система всасывания включает, по меньшей мере, один воздушно-реактивный двухконтурный двигатель, компрессор высокого давления с зоной высокого давления, которая находится в зоне внутреннего контура, отводную линию и турбонагнетательный агрегат. Двигатель имеет внутренний и внешний контуры и основной поток. Отводная линия предназначена для отведения воздуха из зоны компрессора высокого давления в двухконтурном двигателе и для привода турбины турбонагнетательного агрегата отводимым воздухом. Компрессор служит для создания силы всасывания, необходимой для отсоса пограничного слоя. Линия нагнетания компрессора турбонагнетательного агрегата открывается в основной поток двухконтурного двигателя в зоне низкого давления. Достигается увеличение надежности, энергоэффективности системы. 4 з.п. ф-лы, 2 ил.

Дирекция сайта "Промышленная Сибирь"
Россия, г.Омск, ул.Учебная, 199-Б, к.408А
Сайт открыт 01.11.2000
© 2000-2018 Промышленная Сибирь
Разработка дизайна сайта:
Дизайн-студия "RayStudio"