Промышленная Сибирь Ярмарка Сибири Промышленность СФО Электронные торги НОУ-ХАУ Электронные магазины Карта сайта
 
 

Поиск патентов

Как искать?
Реферат
Название
Публикация
Регистрационный номер
Имя заявителя
Имя изобретателя
Имя патентообладателя

    





Оформить заказ и задать интересующие Вас вопросы Вы можете напрямую c 6-00 до 14-30 по московскому времени кроме сб, вс. whatsapp 8-950-950-9888

На данной странице представлена ознакомительная часть выбранного Вами патента

Для получения более подробной информации о патенте (полное описание, формула изобретения и т.д.) Вам необходимо сделать заказ. Нажмите на «Корзину»


УСТРОЙСТВО КРЕПЛЕНИЯ ЛОПАСТИ ВОЗДУШНОГО ВИНТА ИЗМЕНЯЕМОГО ШАГА

Номер публикации патента: 2389646

Вид документа: C2 
Страна публикации: RU 
Рег. номер заявки: 2008109339/11 
  Сделать заказПолучить полное описание патента

Редакция МПК: 
Основные коды МПК: B64C011/04    
Аналоги изобретения: RU 2074833 C1, 16.08.1948. GB 606524 A, 16.08.1948. GB 2254893 A, 21.10.1992. RU 2272750 C2, 27.03.2006. SU 133760 A1, 01.01.1960. 

Имя заявителя: Кормильченко Геннадий Мстиславич (RU) 
Изобретатели: Кормильченко Геннадий Мстиславич (RU) 
Патентообладатели: Кормильченко Геннадий Мстиславич (RU) 

Реферат


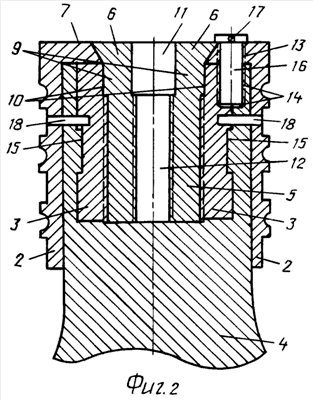
Изобретение относится к авиационной технике, в частности к устройству крепления лопасти воздушного изменяемого шага, выполненной из пластика, углепластика и металлических. Устройство содержит стакан, имеющий цилиндрическую часть и рукав втулки. Комлевая часть лопасти расположена внутри стакана и прикреплена к нему. Устройство снабжено вкладышем, вклеенным в комель лопасти. Стакан закреплен к комле лопасти посредством болта, установленного вдоль продольной оси стакана. Болт содержит конусную головку, которая утопает в отверстии, выполненном в горизонтальной поверхности стакана. Верхняя часть отверстия со стороны головки болта, выполненного вдоль продольной оси болта, выполнена шестигранной формы и переходит в круглое сквозное отверстие. На торцевых кромках головки болта выполнены три полукруглой формы выемки. Через выемки в местах сопряжения головки болта с горизонтальной поверхностью стакана выполнены три сквозных резьбовых отверстия, проходящие через головку болта и горизонтальную поверхность стакана. Сквозные резьбовые отверстия переходят в три глухих резьбовых отверстия, выполненные в местах сопряжения внешней круглой поверхности вкладыша с внутренней круглой поверхностью комля лопасти. В сквозные и глухие резьбовые отверстия ввинчены три болта. Достигается увеличение прочности, надежности и долговечности. 6 ил.

Дирекция сайта "Промышленная Сибирь"
Россия, г.Омск, ул.Учебная, 199-Б, к.408А
Сайт открыт 01.11.2000
© 2000-2018 Промышленная Сибирь
Разработка дизайна сайта:
Дизайн-студия "RayStudio"