|
На данной странице представлена ознакомительная часть выбранного Вами патента
Для получения более подробной информации о патенте (полное описание, формула изобретения и т.д.) Вам необходимо сделать заказ. Нажмите на «Корзину»
| ЭЛЕМЕНТ УПРАВЛЕНИЯ ТРАНСПОРТНЫМ СРЕДСТВОМ ДЛЯ АМОРФНОЙ СРЕДЫ |  |
Номер публикации патента: 2162046 |  |
| Редакция МПК: | 7 | | Основные коды МПК: | B63H025/38 B64C009/18 | | Аналоги изобретения: | SU 639437 A, 25.12.1978. SU 483297 A, 05.09.1975. GB 1589405 A, 13.05.1981. US 4605187 A, 12.08.1986. |
| Имя заявителя: | Таланов Борис Петрович | | Изобретатели: | Таланов Б.П. | | Патентообладатели: | Таланов Борис Петрович |
Реферат |  |
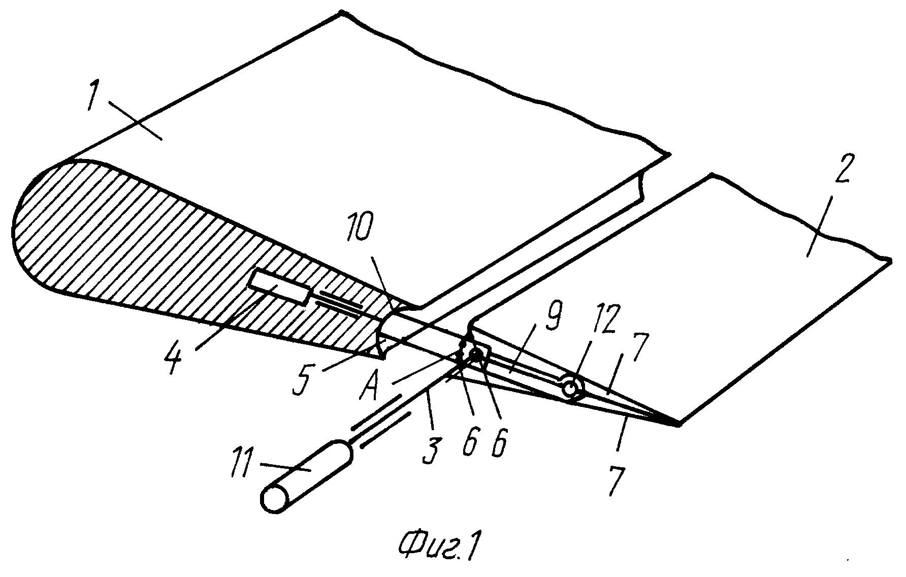
Изобретение относится к средствам для управления транспортом в водной и воздушной средах. Элемент управления транспортным средством для аморфной среды включает привод перемещения поверхности управления в пространстве, взаимодействующей с набегающим потоком массы аморфной среды. Он выполнен с разрезом вдоль поверхности управления и перпендикулярно его угловому перемещению приводом и содержит дополнительный привод для перемещения частей элемента относительно разреза. Изобретение позволяет осуществлять посадку летательного аппарата без перегрузки на шасси и осуществлять торможение водного транспорта без дополнительной затраты энергии. 2 ил.
|