Промышленная Сибирь Ярмарка Сибири Промышленность СФО Электронные торги НОУ-ХАУ Электронные магазины Карта сайта
 
 

Поиск патентов

Как искать?
Реферат
Название
Публикация
Регистрационный номер
Имя заявителя
Имя изобретателя
Имя патентообладателя

    





Оформить заказ и задать интересующие Вас вопросы Вы можете напрямую c 6-00 до 14-30 по московскому времени кроме сб, вс. whatsapp 8-950-950-9888

На данной странице представлена ознакомительная часть выбранного Вами патента

Для получения более подробной информации о патенте (полное описание, формула изобретения и т.д.) Вам необходимо сделать заказ. Нажмите на «Корзину»


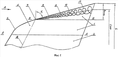
ЗАКОНЦОВКА НЕСУЩЕЙ ПОВЕРХНОСТИ ЛЕТАТЕЛЬНОГО АППАРАТА

Номер публикации патента: 2378154

Вид документа: C1 
Страна публикации: RU 
Рег. номер заявки: 2008119213/11 
  Сделать заказПолучить полное описание патента

Редакция МПК: 
Основные коды МПК: B64C003/10    
Аналоги изобретения: RU 2216480 С2, 20.11.2003. US 3377042 А, 16.10.1984. US 4108403 А, 22.08.1978. 

Имя заявителя: Открытое акционерное общество "Туполев" (ОАО "Туполев") (RU) 
Изобретатели: Кощеев Анатолий Борисович (RU)
Крупник Александр Львович (RU)
Федичев Валерий Степанович (RU) 
Патентообладатели: Открытое акционерное общество "Туполев" (ОАО "Туполев") (RU) 

Реферат


Изобретение относится к области авиационной техники. Законцовка крыла летательного аппарата имеет стреловидную переднюю кромку по размаху, нижняя поверхность которой образована плавным продолжением образующей нижней поверхности крыла. Передняя кромка концевой части законцовки от точки пересечения нелинейной передней кромки законцовки с продолжением линии максимальных толщин крыла выполнена прямой и острой со стреловидностью 70-85 градусов. Нижняя поверхность образована хордами профилей, параллельными плоскости симметрии крыла. Переход по нижней поверхности от крыла с тупым носком профиля к острому концевой части законцовки выполнен плавным. Верхняя поверхность законцовки образована продолжением верхней поверхности крыла и плавно замыкается на острой передней кромке ее концевой части. Изобретение направлено на повышение аэродинамического качества. 8 ил.

Дирекция сайта "Промышленная Сибирь"
Россия, г.Омск, ул.Учебная, 199-Б, к.408А
Сайт открыт 01.11.2000
© 2000-2018 Промышленная Сибирь
Разработка дизайна сайта:
Дизайн-студия "RayStudio"