Промышленная Сибирь Ярмарка Сибири Промышленность СФО Электронные торги НОУ-ХАУ Электронные магазины Карта сайта
 
 

Поиск патентов

Как искать?
Реферат
Название
Публикация
Регистрационный номер
Имя заявителя
Имя изобретателя
Имя патентообладателя

    





Оформить заказ и задать интересующие Вас вопросы Вы можете напрямую c 6-00 до 14-30 по московскому времени кроме сб, вс. whatsapp 8-950-950-9888

На данной странице представлена ознакомительная часть выбранного Вами патента

Для получения более подробной информации о патенте (полное описание, формула изобретения и т.д.) Вам необходимо сделать заказ. Нажмите на «Корзину»


УСТРОЙСТВО ДЛЯ ПЕРЕМЕЩЕНИЯ ПРЕДМЕТОВ, В ЧАСТНОСТИ, БАГАЖА В БАГАЖНОМ ОТДЕЛЕНИИ ЛЕТАТЕЛЬНОГО АППАРАТА

Номер публикации патента: 2466043

Вид документа: C2 
Страна публикации: RU 
Рег. номер заявки: 2010101060/11 
  Сделать заказПолучить полное описание патента

Редакция МПК: 
Основные коды МПК: B60P001/36   B64C001/22    
Аналоги изобретения: ЕР 0081695 A1, 22.06.1983. WO 03097454 A1, 27.11.2003. SU 667431 A1, 15.06.1979. 

Имя заявителя: ЭРБЮС ОПЕРАСЬОН (FR) 
Изобретатели: ГЕРИНГ Бернар (FR)
СЭН-МАРК Лоран (FR) 
Патентообладатели: ЭРБЮС ОПЕРАСЬОН (FR) 
Приоритетные данные: 15.06.2007 FR 0704291 

Реферат


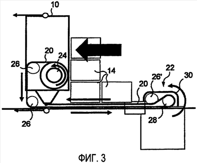
Изобретение относится к устройству для перемещения предметов, в частности, багажа в багажном отделении летательного аппарата. Устройство содержит подвижную стенку (10) и, по меньшей мере, одну транспортерную ленту (20). Один конец транспортерной ленты (20) соединен с барабаном (24), на который наматывается транспортерная лента (20) с помощью роликов (26). Другой конец транспортерной ленты (20) закреплен на подвижной стенке (10). При работе устройства нижняя ветвь транспортерной ленты (20) проходит от подвижной стенки (10) до порога (22), а верхняя ветвь транспортерной ленты (20) проходит от порога (22) до подвижной стенки (10). 2 н. и 8 з.п. ф-лы, 9 ил.

Дирекция сайта "Промышленная Сибирь"
Россия, г.Омск, ул.Учебная, 199-Б, к.408А
Сайт открыт 01.11.2000
© 2000-2018 Промышленная Сибирь
Разработка дизайна сайта:
Дизайн-студия "RayStudio"