Промышленная Сибирь Ярмарка Сибири Промышленность СФО Электронные торги НОУ-ХАУ Электронные магазины Карта сайта
 
 

Поиск патентов

Как искать?
Реферат
Название
Публикация
Регистрационный номер
Имя заявителя
Имя изобретателя
Имя патентообладателя

    





Оформить заказ и задать интересующие Вас вопросы Вы можете напрямую c 6-00 до 14-30 по московскому времени кроме сб, вс. whatsapp 8-950-950-9888

На данной странице представлена ознакомительная часть выбранного Вами патента

Для получения более подробной информации о патенте (полное описание, формула изобретения и т.д.) Вам необходимо сделать заказ. Нажмите на «Корзину»


СЕКЦИЯ КРЫЛО - ФЮЗЕЛЯЖ ЛЕТАТЕЛЬНОГО АППАРАТА

Номер публикации патента: 2456204

Вид документа: C2 
Страна публикации: RU 
Рег. номер заявки: 2009142460/11 
  Сделать заказПолучить полное описание патента

Редакция МПК: 
Основные коды МПК: B64C001/26    
Аналоги изобретения: US 5897078 A, 27.04.1999. US 2500015 A, 07.03.1950. FR 863752 A, 09.04.1941. RU 2154003 C2, 10.08.2000. RU 2268196 C1, 20.01.2006. 

Имя заявителя: ЭЙРБАС ОПЕРЕЙШНС ГМБХ (DE) 
Изобретатели: ПАЛЬ Гюнтер (DE) 
Патентообладатели: ЭЙРБАС ОПЕРЕЙШНС ГМБХ (DE) 
Приоритетные данные: 26.04.2007 DE 102007019692.1 

Реферат


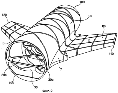
Изобретение относится к области строительства летательных аппаратов. Предлагается секция крыло-фюзеляж летательного аппарата, причем указанная секция крыло-фюзеляж содержит корневую часть (7, 8) крыла, у которой крыло (1) летательного аппарата соединено с фюзеляжем (2), область (3) фюзеляжа - с элементами (11-15, 21-25) каркаса фюзеляжа, которые идут в продольном направлении летательного аппарата, и область (5, 6) крыла с лонжеронами (16-19, 26-29), которые идут в направлении размаха крыла. В соответствии с изобретением лонжероны (16-19, 26-29) области (5, 6) крыла и элементы (11-15, 21-25) каркаса фюзеляжа области (3) фюзеляжа образуют часть составляющего одно целое узла (40), который содержит по меньшей мере среднюю часть крыла (1) и область (3) фюзеляжа, в том числе корневые части (7, 8) крыла. Достигается упрощение сборочных работ, снижение веса конструкции данного узла. 23 з.п. ф-лы, 16 ил.

Дирекция сайта "Промышленная Сибирь"
Россия, г.Омск, ул.Учебная, 199-Б, к.408А
Сайт открыт 01.11.2000
© 2000-2018 Промышленная Сибирь
Разработка дизайна сайта:
Дизайн-студия "RayStudio"