Промышленная Сибирь Ярмарка Сибири Промышленность СФО Электронные торги НОУ-ХАУ Электронные магазины Карта сайта
 
 

Поиск патентов

Как искать?
Реферат
Название
Публикация
Регистрационный номер
Имя заявителя
Имя изобретателя
Имя патентообладателя

    





Оформить заказ и задать интересующие Вас вопросы Вы можете напрямую c 6-00 до 14-30 по московскому времени кроме сб, вс. whatsapp 8-950-950-9888

На данной странице представлена ознакомительная часть выбранного Вами патента

Для получения более подробной информации о патенте (полное описание, формула изобретения и т.д.) Вам необходимо сделать заказ. Нажмите на «Корзину»


КОНСТРУКЦИЯ ХВОСТОВОЙ ЧАСТИ ВОЗДУШНОГО ИЛИ КОСМИЧЕСКОГО СУДНА

Номер публикации патента: 2438921

Вид документа: C2 
Страна публикации: RU 
Рег. номер заявки: 2008148159/11 
  Сделать заказПолучить полное описание патента

Редакция МПК: 
Основные коды МПК: B64C001/16   B64D027/26    
Аналоги изобретения: US 4448372 А, 15.05.1984. US 366621 А, 30.05.1972. RU 2274584 С2, 20.04.2006. RU 2167788 С2, 27.05.2001. 

Имя заявителя: ЭЙРБАС ОПЕРЕЙШНЗ ГМБХ (DE) 
Изобретатели: ХААК Корд (DE) 
Патентообладатели: ЭЙРБАС ОПЕРЕЙШНЗ ГМБХ (DE) 
Приоритетные данные: 14.06.2006 DE 102006027707.4
14.06.2006 US 60/813,497 

Реферат


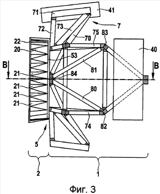
Изобретения относятся к конструкции хвостовой части воздушного судна и к воздушному судну. Конструкция хвостовой части содержит опорную конструкцию для поддерживания узла воздушного или космического судна и узел перегородки для герметизации отсека фюзеляжа, выполненный с возможностью соединения как с опорной конструкцией, так и с отсеком фюзеляжа. Опорная конструкция содержит два пилона, формирующие траекторию потока усилий, для поддерживания соответствующего двигателя. Пилоны образованы конструкцией в форме параллелепипеда из опорных балок. Одна опорная балка расположена в параллелепипеде по диагонали. Достигается улучшение аэродинамических свойств воздушного судна. 2 н. и 4 з.п. ф-лы, 7 ил.

Дирекция сайта "Промышленная Сибирь"
Россия, г.Омск, ул.Учебная, 199-Б, к.408А
Сайт открыт 01.11.2000
© 2000-2018 Промышленная Сибирь
Разработка дизайна сайта:
Дизайн-студия "RayStudio"