|
На данной странице представлена ознакомительная часть выбранного Вами патента
Для получения более подробной информации о патенте (полное описание, формула изобретения и т.д.) Вам необходимо сделать заказ. Нажмите на «Корзину»
| ВОДОМЕТНЫЙ ДВИЖИТЕЛЬНЫЙ КОМПЛЕКС СУДНА С ЦЕНТРОБЕЖНЫМИ НАСОСАМИ |  |
Номер публикации патента: 2183175 |  |
| Редакция МПК: | 7 | | Основные коды МПК: | B63H011/103 | | Аналоги изобретения: | RU 2065375 С1, 20.08.1996. RU 2086464 С1, 10.08.1997. US 3137266 А, 16.06.1964. US 3662702 А, 16.05.1972. |
| Имя заявителя: | Военно-морская академия им. Адмирала Флота Советского Союза Н.Г. Кузнецова | | Изобретатели: | Соловьев А.П. Турышев Б.И. | | Патентообладатели: | Военно-морская академия им. Адмирала Флота Советского Союза Н.Г. Кузнецова |
Реферат |  |
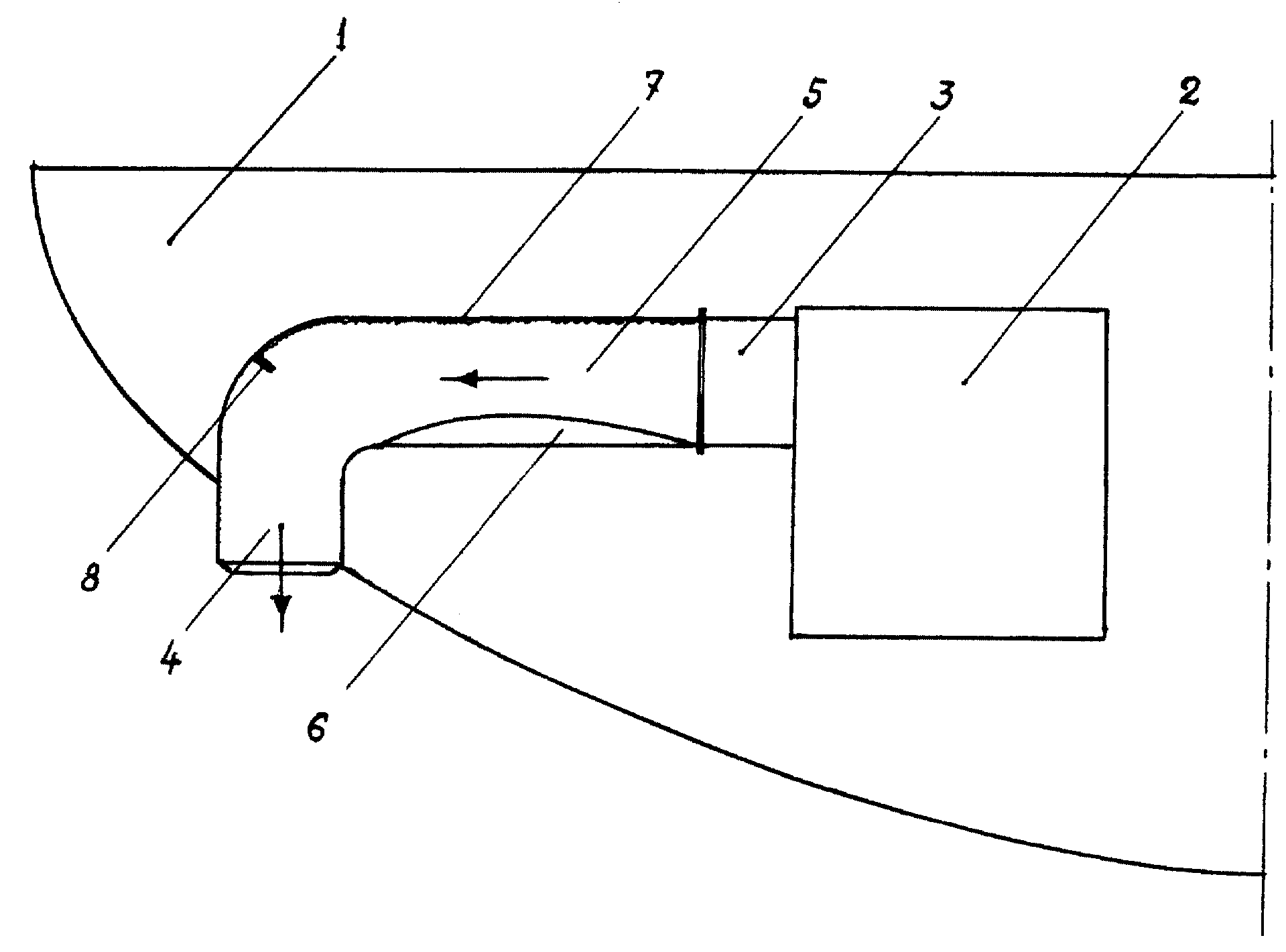
Изобретение относится к судостроению, а именно к водометным движителям судов и других плавсредств. Устройство содержит расположенные в корме (1) судна два центробежных насоса (2) с водозаборными патрубками (не показаны) и выходными патрубками (3) с сопловыми отверстиями (4) и вставками (5). Кормовая внутренняя обшивка (6) вставки выполнена в виде поверхности крыла с выпуклостью в сторону носа судна, а противолежащая ей внутренняя поверхность носовой обшивки (7) имеет искусственную шероховатость. В месте поворота выходного патрубка на носовой внутренней обшивке расположен вертикальный пластинчатый интерцептор (8), что позволяет получить дополнительную тягу, повысить кпд движительного комплекса. 1 ил.
|