Большая Советская Энциклопедия, т.16, изд. Третье. - М.: Советская Энциклопедия, 1974, с.293. RU 2007144784 А, 10.06.2009. JP 1233196 А, 18.09.1989. DE 3721340 C1, 29.10.1992.
Имя заявителя:
Шмигирилов Евгений Станиславович (RU)
Изобретатели:
Шмигирилов Евгений Станиславович (RU)
Патентообладатели:
Шмигирилов Евгений Станиславович (RU)
Реферат
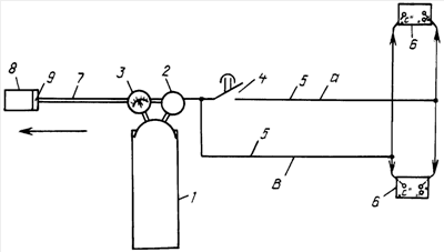
Изобретение относится к области военной промышленности и может быть использовано при сбросе глубинных бомб на кораблях ВМФ и погранвойск. Устройство содержит воздушный баллон, установленный в ахтерпике. Воздушный баллон имеет манометр и автоматически управляемый шаровой кран, который через воздуховод и пневмоцилиндр соединен с запирающим устройством глубинных бомб, а также реле времени и кнопку «пуск». Устройство работает в двух режимах: «одиночная» и «серия». В режиме «одиночная» автоматически управляемый шаровой кран соединен с кнопкой «пуск» через реле времени. В режиме «серия» шаровой кран соединен с кнопкой «пуск», минуя реле времени. Ликвидируются человеческие потери во время боевых действий при сбросе глубинных бомб. 1 ил.