Промышленная Сибирь Ярмарка Сибири Промышленность СФО Электронные торги НОУ-ХАУ Электронные магазины Карта сайта
 
 

Поиск патентов

Как искать?
Реферат
Название
Публикация
Регистрационный номер
Имя заявителя
Имя изобретателя
Имя патентообладателя

    





Оформить заказ и задать интересующие Вас вопросы Вы можете напрямую c 6-00 до 14-30 по московскому времени кроме сб, вс. whatsapp 8-950-950-9888

На данной странице представлена ознакомительная часть выбранного Вами патента

Для получения более подробной информации о патенте (полное описание, формула изобретения и т.д.) Вам необходимо сделать заказ. Нажмите на «Корзину»


РЕЧНОЙ ПАРОМ

Номер публикации патента: 2402454

Вид документа: C1 
Страна публикации: RU 
Рег. номер заявки: 2009114182/11 
  Сделать заказПолучить полное описание патента

Редакция МПК: 
Основные коды МПК: B63B035/54   B63B035/12    
Аналоги изобретения: RU 2338662 C1, 20.11.2008. SU 1009890 A, 07.04.1983. RU 68460 U1, 27.11.2007. DE 968958 С, 10.04.1958. 

Имя заявителя: Государственное образовательное учреждение высшего профессионального образования "Астраханский государственный университет" (АГУ) (RU) 
Изобретатели: Бирюлин Игорь Борисович (RU)
Ветрова Анжелика Амировна (RU)
Белая Валентина Анатольевна (RU)
Башилов Иван Борисович (RU) 
Патентообладатели: Государственное образовательное учреждение высшего профессионального образования "Астраханский государственный университет" (АГУ) (RU) 

Реферат


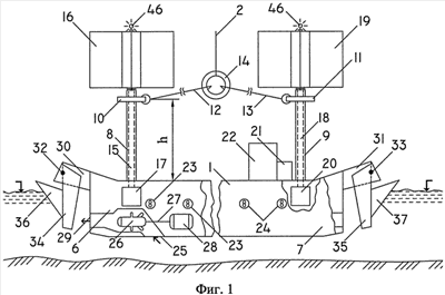
Изобретение относится к речному транспорту и может быть круглогодично использовано для перемещения людей и транспортных средств с одного берега реки на другой. Речной паром содержит плавсредство с симметричными носовыми частями, на которых вертикально установлены стволы, имеющие в верхней части кольца, канаты, два карусельных ветродвигателя, гидротурбины, установленные в цилиндрических проточных каналах, электрогенераторы, которые соединены с аккумуляторными батареями, размещенными на палубе плавсредства у пульта управления. При этом один конец каната закреплен на кольце опоры, установленной на дне середины реки в верхнем ее течении, а другой, разветвленный, на кольцах стволов - плавсредства. Внутри каждой носовой части плавсредства, в днище которого выполнены всасывающие отверстия, установлен водометный движитель в виде многолопастной крыльчатки, соединенной при помощи вала с элкетродвигателем. Достигается улучшение условий эксплуатации паромов больших размеров, обеспечиваются электрификация и механизация процессов круглогодичного перемещения парома с одного берега на другой, даже при наличии ледовой обстановки. 4 ил.

Дирекция сайта "Промышленная Сибирь"
Россия, г.Омск, ул.Учебная, 199-Б, к.408А
Сайт открыт 01.11.2000
© 2000-2018 Промышленная Сибирь
Разработка дизайна сайта:
Дизайн-студия "RayStudio"