Промышленная Сибирь Ярмарка Сибири Промышленность СФО Электронные торги НОУ-ХАУ Электронные магазины Карта сайта
 
 

Поиск патентов

Как искать?
Реферат
Название
Публикация
Регистрационный номер
Имя заявителя
Имя изобретателя
Имя патентообладателя

    





Оформить заказ и задать интересующие Вас вопросы Вы можете напрямую c 6-00 до 14-30 по московскому времени кроме сб, вс. whatsapp 8-950-950-9888

На данной странице представлена ознакомительная часть выбранного Вами патента

Для получения более подробной информации о патенте (полное описание, формула изобретения и т.д.) Вам необходимо сделать заказ. Нажмите на «Корзину»


УСТРОЙСТВО ЗАГРУЗКИ ТАНКЕРА

Номер публикации патента: 2416545

Вид документа: C2 
Страна публикации: RU 
Рег. номер заявки: 2008126273/11 
  Сделать заказПолучить полное описание патента

Редакция МПК: 
Основные коды МПК: B63B021/50   B63B027/34    
Аналоги изобретения: RU 2121055 C1, 27.10.1998. CA 2248578 A1, 23.03.2000. RU 2126761 C1, 27.02.1999. GB 2282583 A, 12.04.1995. 

Имя заявителя: БЛЮВОТЕР ЭНЕРДЖИ СЕРВИСИЗ Б.В. (NL) 
Изобретатели: ДЕ БАН Якоб (NL)
ПЕРДЭЙК Йоханнес Корнелис (NL)
СТЕТЕН Барт (NL) 
Патентообладатели: БЛЮВОТЕР ЭНЕРДЖИ СЕРВИСИЗ Б.В. (NL) 
Приоритетные данные: 29.11.2005 EP 05111439.5 

Реферат


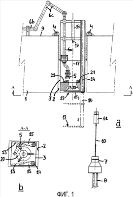
Изобретение относится к устройству загрузки танкера. Устройство загрузки танкера содержит первую расположенную на борту систему (6) шлангов с первым соединительным средством (5), расположенным во внутреннем вертикальном канале танкера, и вторую погруженную в воду плавучую систему (8) шлангов, имеющую второе соединительное средство (7) для формирования влагонепроницаемого соединения между первой и второй системами шлангов. Первое соединительное средство расположено во внутреннем вертикальном канале (2) танкера, в котором предусмотрены подъемные средства (12, 18). Подъемные средства предназначены для зацепления второго соединительного средства и его подъема по направлению к позиции для соединения с первым соединительным средством. Обеспечивается безопасный и легкий подъем второго соединительного средства и его соединение с первым соединительным средством. 14 з.п. ф-лы, 7 ил.

Дирекция сайта "Промышленная Сибирь"
Россия, г.Омск, ул.Учебная, 199-Б, к.408А
Сайт открыт 01.11.2000
© 2000-2018 Промышленная Сибирь
Разработка дизайна сайта:
Дизайн-студия "RayStudio"