Промышленная Сибирь Ярмарка Сибири Промышленность СФО Электронные торги НОУ-ХАУ Электронные магазины Карта сайта
 
 

Поиск патентов

Как искать?
Реферат
Название
Публикация
Регистрационный номер
Имя заявителя
Имя изобретателя
Имя патентообладателя

    





Оформить заказ и задать интересующие Вас вопросы Вы можете напрямую c 6-00 до 14-30 по московскому времени кроме сб, вс. whatsapp 8-950-950-9888

На данной странице представлена ознакомительная часть выбранного Вами патента

Для получения более подробной информации о патенте (полное описание, формула изобретения и т.д.) Вам необходимо сделать заказ. Нажмите на «Корзину»


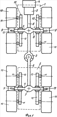
СНЕГОБОЛОТОХОД

Номер публикации патента: 2458801

Вид документа: C2 
Страна публикации: RU 
Рег. номер заявки: 2010142523/11 
  Сделать заказПолучить полное описание патента

Редакция МПК: 
Основные коды МПК: B60G007/00   B62D063/02   B60G021/045    
Аналоги изобретения: SU 1781120 A1, 15.12.1992. CA 1205100 A1, 27.05.1986. RU 63312 U1, 27.05.2007. 

Имя заявителя: Гринкевич Алексей Вадимович (RU) 
Изобретатели: Гринкевич Алексей Вадимович (RU) 
Патентообладатели: Гринкевич Алексей Вадимович (RU) 

Реферат


Изобретение относится к транспортному машиностроению. Снегоболотоход содержит двигатель внутреннего сгорания с коробкой передач, сдвоенный сочлененный кузов на сочлененной несущей раме с ходовыми частями в виде независимых передней и задней подвесок с ведущими мостами в виде конических дифференциалов с полуосями и колесами на них, оснащенными пневматиками низкого давления. Подвески выполнены в виде двуплечих траверс с шарнирами на концевых консолях мостов и с колесами на ступицах концевых участков плечей. Подвески снабжены цилиндрическими движителями, размещенными между колесами и жестко соединенными с полуосями мостов. Достигается повышение проходимости снегоболотохода при движении по пересеченной местности со значительными перепадами высот рельефа. 1 з.п. ф-лы, 3 ил.

Дирекция сайта "Промышленная Сибирь"
Россия, г.Омск, ул.Учебная, 199-Б, к.408А
Сайт открыт 01.11.2000
© 2000-2018 Промышленная Сибирь
Разработка дизайна сайта:
Дизайн-студия "RayStudio"