|
На данной странице представлена ознакомительная часть выбранного Вами патента
Для получения более подробной информации о патенте (полное описание, формула изобретения и т.д.) Вам необходимо сделать заказ. Нажмите на «Корзину»
| САМОХОДНАЯ БУРОВАЯ УСТАНОВКА "ДАША" |  |
Номер публикации патента: 2183246 |  |
| Редакция МПК: | 7 | | Основные коды МПК: | E21B007/02 B60S009/14 B62D057/032 | | Аналоги изобретения: | SU 331167 А, 29.03.1972. SU 913928 А, 15.03.1982. SU 1553644 А1, 30.03.1990. SU 1587165 А1, 23.08.1990. SU 1710688 А1, 07.02.1992. RU 2004753 С1, 15.12.1993. US 5921336 А, 13.07.1999. |
| Имя заявителя: | Сенчугов Александр Константинович | | Изобретатели: | Сенчугов А.К. | | Патентообладатели: | Сенчугов Александр Константинович |
Реферат |  |
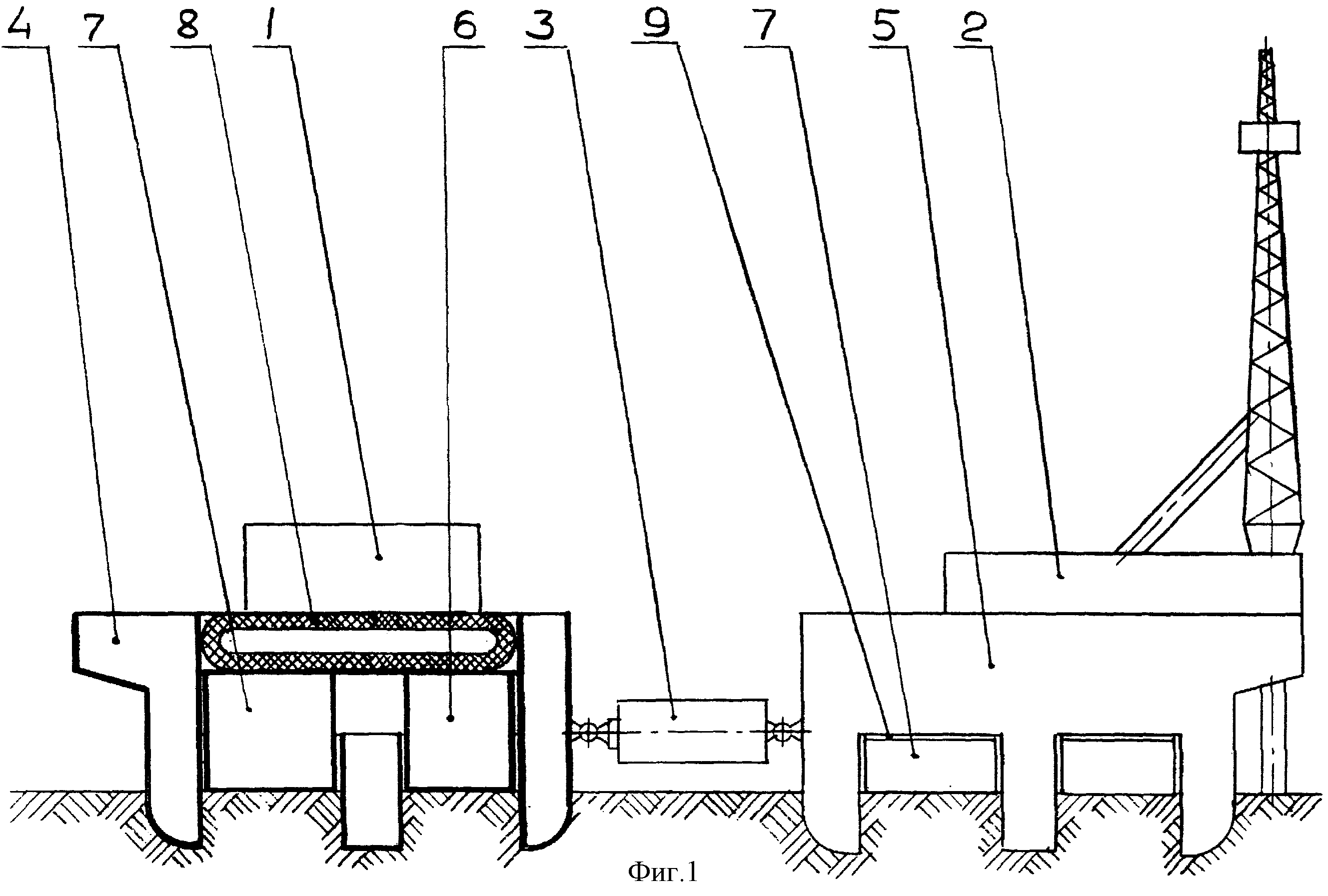
Изобретение относится к области буровых установок и может быть использовано для перевозки грузов, укладки труб и строительства дорог на болотах. Сущность изобретения: буровая установка содержит две или больше грузовые платформы, корпуса которых имеют форму гребня, в пустоты между зубьями которого вставлены подвижные элементы, между которыми и корпусом установлена подушка из эластичного материала, при этом грузовые платформы соединены силовыми цилиндрами двустороннего действия для взаимного передвижения относительно друг друга. Изобретение обеспечивает сохранение болота в качестве природного ареала по пути движения самоходной буровой установки. 2 ил.
|