Промышленная Сибирь Ярмарка Сибири Промышленность СФО Электронные торги НОУ-ХАУ Электронные магазины Карта сайта
 
 

Поиск патентов

Как искать?
Реферат
Название
Публикация
Регистрационный номер
Имя заявителя
Имя изобретателя
Имя патентообладателя

    





Оформить заказ и задать интересующие Вас вопросы Вы можете напрямую c 6-00 до 14-30 по московскому времени кроме сб, вс. whatsapp 8-950-950-9888

На данной странице представлена ознакомительная часть выбранного Вами патента

Для получения более подробной информации о патенте (полное описание, формула изобретения и т.д.) Вам необходимо сделать заказ. Нажмите на «Корзину»


РЕЗИНОМЕТАЛЛИЧЕСКИЙ ШАРНИР ДЛЯ ГУСЕНИЧНОЙ ЦЕПИ ТРАНСПОРТНОГО СРЕДСТВА (ВАРИАНТЫ)

Номер публикации патента: 2427496

Вид документа: C1 
Страна публикации: RU 
Рег. номер заявки: 2010116945/11 
  Сделать заказПолучить полное описание патента

Редакция МПК: 
Основные коды МПК: B62D055/20    
Аналоги изобретения: SU 101389 A1, 01.01.1955. SU 1428654 A1, 07.10.1988. SU 1418169 A1, 23.08.1988. RU 2135373 C1, 27.08.1999. DE 4039096 C1, 14.05.1992. 

Имя заявителя: Государственное образовательное учреждение высшего профессионального образования "Алтайский государственный технический университет им. И.И. Ползунова" (АлтГТУ) (RU) 
Изобретатели: Коростелев Сергей Анатольевич (RU) 
Патентообладатели: Государственное образовательное учреждение высшего профессионального образования "Алтайский государственный технический университет им. И.И. Ползунова" (АлтГТУ) (RU) 

Реферат


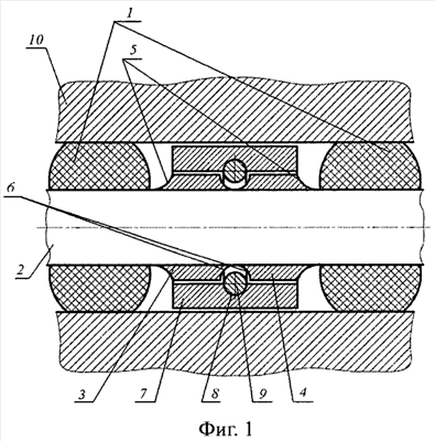
Изобретение относится к области транспортного машиностроения, а именно к тракторостроению, и может быть использовано для гусеничных цепей. Резинометаллический шарнир содержит резиновые кольца (1), запрессованные на пальце (2) шарнира, и металлические элементы, являющиеся ограничителями радиальной деформации колец (1), установленные на палец (2) в промежутках между кольцами (1). Толщина элементов меньше толщины колец (1) на величину допускаемого упругого эксцентриситета шарнира. Элементы выполнены из двух напрессованных на палец (2) втулок (3; 4) с обращенными в противоположные стороны галтелями (5; 6) на торцевых поверхностях, и кольца (7), установленного на втулках (3, 4) и свободно вращающегося относительно них. На внутренней поверхности кольца (7) выполнена симметричная относительно ее вертикальной оси кольцевая канавка (8), в которой между втулками (3; 4) установлен пружинный кольцевой элемент (9), являющийся ограничителем осевого перемещения кольца (7) относительно втулок (3; 4). Отличиями шарнира по второму варианту является то, что металлические элементы выполнены в виде посадочных мест поверхности пальца (2), причем диаметр поверхности посадочных мест больше диаметра остальной поверхности пальца (2), и кольца (7), установленного на посадочных местах и свободно вращающегося относительно них. На внутренней поверхности кольца (7) выполнена симметричная относительно ее вертикальной оси кольцевая канавка, ответная кольцевой канавке, выполненной на наружной поверхности пальца (2) между посадочными местами, при этом в канавках установлен пружинный кольцевой элемент (9), являющийся ограничителем осевого перемещения кольца (7) относительно посадочных мест. На участках перехода от диаметра посадочных мест к диаметру остальной поверхности пальца (2) выполнены галтели. Технический результат: увеличение долговечности шарнира при эксплуатации путем снижения износа металлических элементов и внутренней поверхности проушины и уменьшения деформации резиновых колец. 2 н.п. ф-лы, 3 ил.

Дирекция сайта "Промышленная Сибирь"
Россия, г.Омск, ул.Учебная, 199-Б, к.408А
Сайт открыт 01.11.2000
© 2000-2018 Промышленная Сибирь
Разработка дизайна сайта:
Дизайн-студия "RayStudio"