Промышленная Сибирь Ярмарка Сибири Промышленность СФО Электронные торги НОУ-ХАУ Электронные магазины Карта сайта
 
 

Поиск патентов

Как искать?
Реферат
Название
Публикация
Регистрационный номер
Имя заявителя
Имя изобретателя
Имя патентообладателя

    





Оформить заказ и задать интересующие Вас вопросы Вы можете напрямую c 6-00 до 14-30 по московскому времени кроме сб, вс. whatsapp 8-950-950-9888

На данной странице представлена ознакомительная часть выбранного Вами патента

Для получения более подробной информации о патенте (полное описание, формула изобретения и т.д.) Вам необходимо сделать заказ. Нажмите на «Корзину»


АВТОПОЕЗД

Номер публикации патента: 2457141

Вид документа: C1 
Страна публикации: RU 
Рег. номер заявки: 2011118195/11 
  Сделать заказПолучить полное описание патента

Редакция МПК: 
Основные коды МПК: B62D053/04   B60D001/04    
Аналоги изобретения: SU 724366 A1, 30.03.1980. US 2009014982 A1, 15.01.2009. DE 19701296 A1, 24.07.1997. RU 2284942 С1, 10.10.2006. SU 1507635 A1, 15.09.1989. 

Имя заявителя: Государственное образовательное учреждение высшего профессионального образования "Елецкий государственный университет им. И.А. Бунина" (RU) 
Изобретатели: Сливинский Евгений Васильевич (RU)
Лукин Александр Александрович (RU)
Черников Руслан Владиславович (RU) 
Патентообладатели: Государственное образовательное учреждение высшего профессионального образования "Елецкий государственный университет им. И.А. Бунина" (RU) 

Реферат


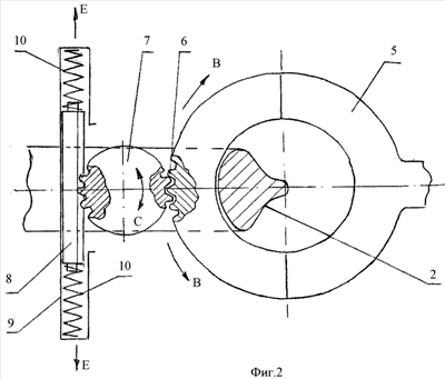
Изобретение относится к области безрельсовых транспортных средств и может быть использовано в конструкциях автопоездов. Автопоезд состоит из тягача и прицепа, содержащих тяговый крюк, установленный на поперечине рамы тягача, и сцепную петлю, жестко укрепленную на дышле прицепа. Часть участка внешней образующей сцепной петли, обращенной в сторону тягача, снабжена зубьями, взаимодействующими с ответными зубчатого колеса, установленного с возможностью вращения на тяговом крюке. Зубчатое колесо одновременно находится в зацеплении с зубчатой рейкой, подвижно установленной в направляющей, жестко закрепленной на упомянутом тяговом крюке и подпружиненной с ее двух торцевых сторон пружинами сжатия. Достигается повышение устойчивости движения многозвенных автопоездов. 2 ил.

Дирекция сайта "Промышленная Сибирь"
Россия, г.Омск, ул.Учебная, 199-Б, к.408А
Сайт открыт 01.11.2000
© 2000-2018 Промышленная Сибирь
Разработка дизайна сайта:
Дизайн-студия "RayStudio"