Промышленная Сибирь Ярмарка Сибири Промышленность СФО Электронные торги НОУ-ХАУ Электронные магазины Карта сайта
 
 

Поиск патентов

Как искать?
Реферат
Название
Публикация
Регистрационный номер
Имя заявителя
Имя изобретателя
Имя патентообладателя

    





Оформить заказ и задать интересующие Вас вопросы Вы можете напрямую c 6-00 до 14-30 по московскому времени кроме сб, вс. whatsapp 8-950-950-9888

На данной странице представлена ознакомительная часть выбранного Вами патента

Для получения более подробной информации о патенте (полное описание, формула изобретения и т.д.) Вам необходимо сделать заказ. Нажмите на «Корзину»


КАБИНА ВОДИТЕЛЯ ГРУЗОВОГО ТРАНСПОРТНОГО СРЕДСТВА

Номер публикации патента: 2412076

Вид документа: C2 
Страна публикации: RU 
Рег. номер заявки: 2009105942/11 
  Сделать заказПолучить полное описание патента

Редакция МПК: 
Основные коды МПК: B62D033/06    
Аналоги изобретения: DE 102004025248 А1, 08.12.2005. WO 2007025620 А1, 08.03.2007. GB 292316 А, 21.06.1928. US 6032963 А, 07.03.2000. DE 102005012314 А1, 28.09.2006. DE 102004058509 А1, 10.08.2006. DE 102005002577 В3, 12.10.2006. RU 12584 U1, 20.01.2000. 

Имя заявителя: МАН НУТЦФАРЦОЙГЕ АКЦИЕНГЕЗЕЛЛЬШАФТ (DE) 
Изобретатели: РОРМЮЛЛЕР Ханс (DE)
КНАЙФЕЛЬ Эберхард (DE) 
Патентообладатели: МАН НУТЦФАРЦОЙГЕ АКЦИЕНГЕЗЕЛЛЬШАФТ (DE) 
Приоритетные данные: 20.02.2008 DE 102008010134.6 

Реферат


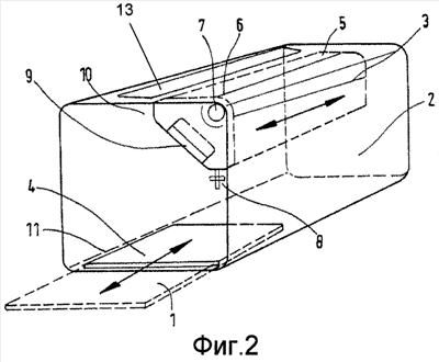
Изобретение относится к кабине водителя грузового транспортного средства. Кабина водителя грузового транспортного средства содержит доступный снаружи, закрываемый откидной крышкой (12) дополнительный багажник (2). Дополнительный багажник расположен в задней части боковой стенки кабины водителя по меньшей мере частично над крылом транспортного средства. Внутри дополнительного багажника (2) закреплен резервуар (3) для хранения запасов воды. Дополнительный багажник (2) разделен на две области (10, 11). В первой области (10) предусмотрена одна приемная часть (5) для крепления резервуара (3) для воды, доступного при открытой откидной крышке (12) снаружи, а во второй области (11) предусмотрена приемная поверхность (4) для хранения других предметов. Достигается обеспечение удобства пользования дополнительным багажником, снабженным резервуаром с водой. 9 з.п. ф-лы, 4 ил.

Дирекция сайта "Промышленная Сибирь"
Россия, г.Омск, ул.Учебная, 199-Б, к.408А
Сайт открыт 01.11.2000
© 2000-2018 Промышленная Сибирь
Разработка дизайна сайта:
Дизайн-студия "RayStudio"