Промышленная Сибирь Ярмарка Сибири Промышленность СФО Электронные торги НОУ-ХАУ Электронные магазины Карта сайта
 
 

Поиск патентов

Как искать?
Реферат
Название
Публикация
Регистрационный номер
Имя заявителя
Имя изобретателя
Имя патентообладателя

    





Оформить заказ и задать интересующие Вас вопросы Вы можете напрямую c 6-00 до 14-30 по московскому времени кроме сб, вс. whatsapp 8-950-950-9888

На данной странице представлена ознакомительная часть выбранного Вами патента

Для получения более подробной информации о патенте (полное описание, формула изобретения и т.д.) Вам необходимо сделать заказ. Нажмите на «Корзину»


ПОДШИПНИК СКОЛЬЖЕНИЯ И РУЛЕВОЙ МЕХАНИЗМ РЕЕЧНОГО ТИПА ДЛЯ ИСПОЛЬЗОВАНИЯ В АВТОМОБИЛЕ

Номер публикации патента: 2409772

Вид документа: C2 
Страна публикации: RU 
Рег. номер заявки: 2008132959/11 
  Сделать заказПолучить полное описание патента

Редакция МПК: 
Основные коды МПК: F16C029/02   F16C033/20   B62D003/12   F16H019/04    
Аналоги изобретения: JP 2002114162 А, 16.04.2002. JP 2004314853 А, 11.11.2004. JP 2004347105 A, 09.12.2004. EP 1394426 A2, 06.03.2004. JP 2006234152 A, 07.09.2006. SU 888808 A3, 07.12.1981. 

Имя заявителя: ОИЛС КОРПОРЕЙШН (JP) 
Изобретатели: ХИРОСЕ Масахико (JP)
ХАШИМОТО Масааки (JP)
ОХАРА Ёшихиде (JP)
ТАНАКА Такахиро (JP)
КАИДА Хидетоши (JP)
ШИМУРА Масао (JP) 
Патентообладатели: ОИЛС КОРПОРЕЙШН (JP) 
Приоритетные данные: 16.01.2006 JP 2006-007247 

Реферат


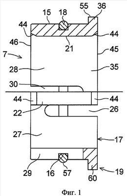
Изобретение относится к подшипнику скольжения, в частности к подшипнику скольжения, применимому в качестве подвижной опоры для вала рулевой рейки в автомобиле с рулевым механизмом реечного типа. Подшипник скольжения (7) включает втулку (17) из синтетической пластмассы, имеющую, по меньшей мере, одну кольцевую канавку (16), выполненную на ее наружной периферийной поверхности (15), кольцеобразный упругий элемент (18), установленный в кольцевой канавке (16), и пару обращенных внутрь внутренних периферийных поверхностей (21, 22), которые проходят осесимметрично. Втулка (17) также имеет две пары прорезей (23, 24) и (25, 26), каждая из которых расположена таким образом, что между ними в направлении вдоль окружности проходят поверхности (21, 22), и которые позволяют соответствующим поверхностям (21, 22) перемещаться в радиальном направлении внутрь/наружу и, по меньшей мере, одну пару обращенных наружу внутренних периферийных поверхностей (27, 28), проходящих с наружной стороны относительно пары поверхностей (21, 22) в радиальном направлении. Каждая из поверхностей (27, 28) образует зазор с соответствующей из наружных периферийных поверхностей со стороны зубцов и с противоположной ей стороны вала рулевой рейки, который вставлен и закреплен в сквозном отверстии, образованном парой поверхностей (21, 22) и парой поверхностей (27, 28). Участок каждой из поверхностей (21, 22) способен входить в скользящий контакт с соответствующей наружной периферийной поверхностью вала рулевой рейки за исключением наружных периферийных поверхностей со стороны зубцов и противоположной ей стороны вала рулевой рейки. Также заявлен рулевой механизм реечного типа, который включает вышеупомянутый подшипник скольжения. Технический результат: обеспечение для вала рулевой рейки опоры с заданной жесткостью в его радиальном направлении и в осевом направлении ведущей шестерни и также подвижной опоры с низким фрикционным сопротивлением в осевом направлении вала, при этом ослабевает эффект релаксации напряжений вследствие деформации ползучести и тепловой предыстории. 2 н. и 7 з.п. ф-лы, 10 ил.

Дирекция сайта "Промышленная Сибирь"
Россия, г.Омск, ул.Учебная, 199-Б, к.408А
Сайт открыт 01.11.2000
© 2000-2018 Промышленная Сибирь
Разработка дизайна сайта:
Дизайн-студия "RayStudio"