|
На данной странице представлена ознакомительная часть выбранного Вами патента
Для получения более подробной информации о патенте (полное описание, формула изобретения и т.д.) Вам необходимо сделать заказ. Нажмите на «Корзину»
| УСТРОЙСТВО ДЛЯ ОПОВЕЩЕНИЯ МАШИНИСТА О ПРОИЗВОДСТВЕ РЕМОНТНЫХ ПУТЕВЫХ РАБОТ |  |
Номер публикации патента: 2175291 |  |
| Редакция МПК: | 7 | | Основные коды МПК: | B61L023/06 | | Аналоги изобретения: | SU 1794747 A1 15.02.1993. JP 10002951 A1 06.01.1998. RU 2071429 C1 10.01.1997. DE 4214271 A1 11.04.1993. DE 4213810 A1 28.10.1993. JP 54014194 A1 02.02.1979. |
| Имя заявителя: | Розенберг Ефим Наумович | | Изобретатели: | Розенберг Е.Н. Лазаренко Ю.В. Лист Ф.Д. Гришанков Б.Т. | | Патентообладатели: | Розенберг Ефим Наумович Лазаренко Юрий Владимирович Лист Феликс Давыдович Гришанков Борис Тимофеевич |
Реферат |  |
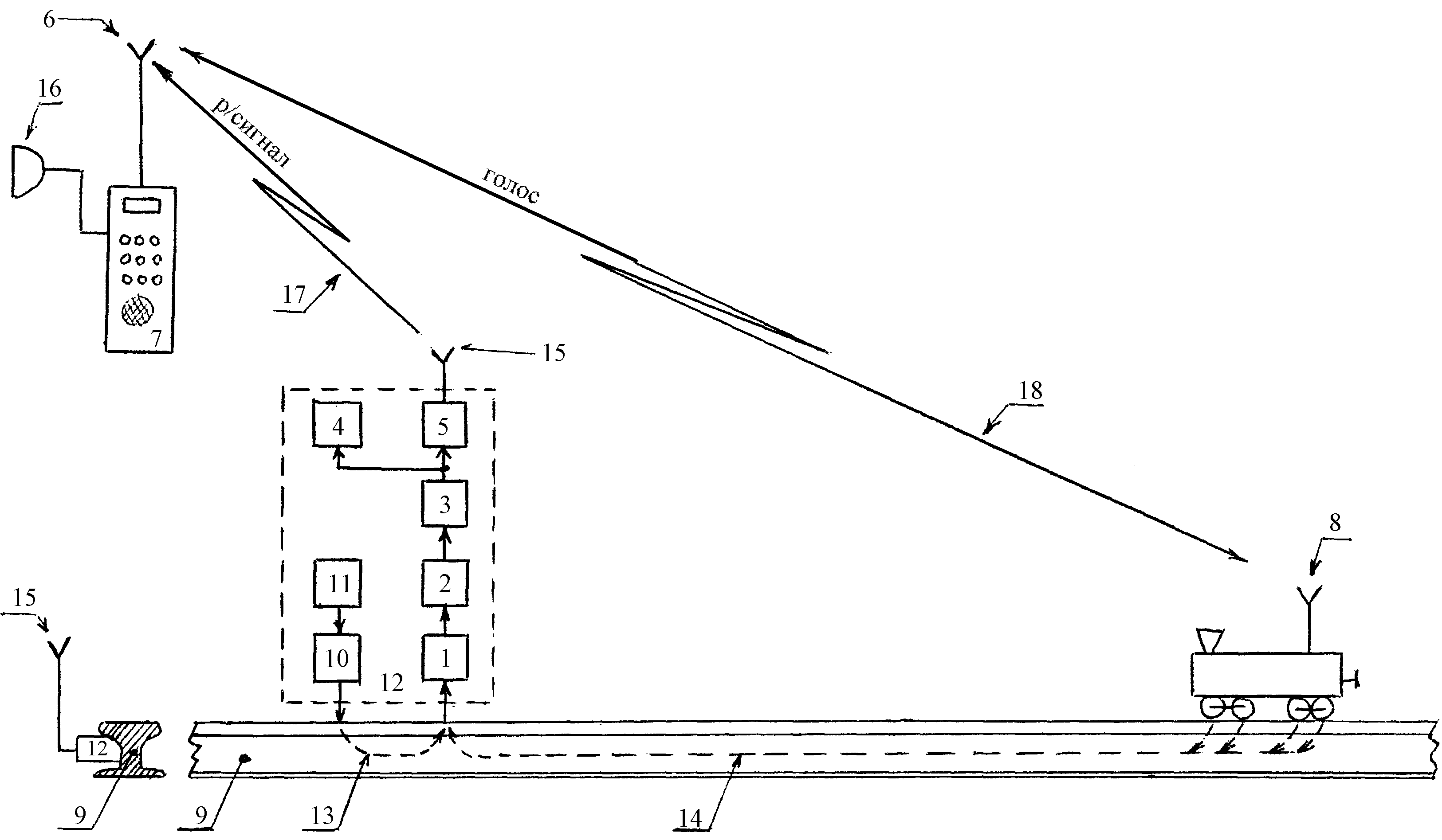
Изобретение предназначено для оповещения машиниста о проводимых ремонтных работах и предупреждения ремонтной путевой бригады о приближении поезда без участия сигналистов. Устройство содержит преобразователь акустических колебаний, возникающих в рельсах, блок сигнализации, генератор звуковой частоты, бойковый механизм для нанесения ударов по рельсу, блок анализа сигнала по спектру или по изменению его амплитуды. Вход последнего подключен к выходу усилителя, а выход - к блоку сигнализации и радиопередатчику. Бойковый механизм связан с генератором. Имеется также радиотелефон, связанный по эфиру с упомянутым радиопередатчиком и приемно-передающей антенной локомотива. Технический результат - повышение надежности и расширение функциональных возможностей. 1 ил.
|