Промышленная Сибирь Ярмарка Сибири Промышленность СФО Электронные торги НОУ-ХАУ Электронные магазины Карта сайта
 
 

Поиск патентов

Как искать?
Реферат
Название
Публикация
Регистрационный номер
Имя заявителя
Имя изобретателя
Имя патентообладателя

    





Оформить заказ и задать интересующие Вас вопросы Вы можете напрямую c 6-00 до 14-30 по московскому времени кроме сб, вс. whatsapp 8-950-950-9888

На данной странице представлена ознакомительная часть выбранного Вами патента

Для получения более подробной информации о патенте (полное описание, формула изобретения и т.д.) Вам необходимо сделать заказ. Нажмите на «Корзину»


СИСТЕМА И СПОСОБ ДЛЯ КОНТРОЛЯ ЖЕЛЕЗНОДОРОЖНОГО ПУТИ

Номер публикации патента: 2385446

Вид документа: C2 
Страна публикации: RU 
Рег. номер заявки: 2007103331/28 
  Сделать заказПолучить полное описание патента

Редакция МПК: 
Основные коды МПК: G01C003/08   B61K009/08    
Аналоги изобретения: RU 2142892 С1, 20.12.1999. SU 1418105 А1, 23.08.1988. US 6615648 А1, 09.09.2003. JP 2000221146 А1, 11.08.2000. 

Имя заявителя: ДЖОРДЖТАУН РЭЙЛ ЭКВИПМЕНТ КОМПАНИ (US) 
Изобретатели: НЭГЛ Джон Энтони II (US)
ОРРЕЛЛ Стивен С. (US)
ВИЛЛАР Кристофер М. (US) 
Патентообладатели: ДЖОРДЖТАУН РЭЙЛ ЭКВИПМЕНТ КОМПАНИ (US) 
Приоритетные данные: 30.06.2004 US 60/584,769 

Реферат


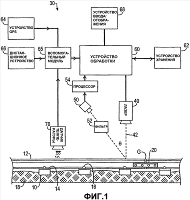
Изобретение относится к системе и способу контроля железнодорожного пути, в частности к системе и способу контроля параметров железнодорожного пути с использованием лазера, камеры и процессора. Технический результат изобретения заключается в упрощении процедуры контроля состояния железнодорожного полотна. Способ контроля железнодорожного пути содержит этапы, на которых: освещают линию от края до края железнодорожного пути; принимают часть света, отраженного от железнодорожного полотна; генерируют совокупность изображений; анализируют совокупность изображений; компилируют совокупность изображений; записывают соответствующее географическое местоположений изображений; отображают физические характеристики участка железнодорожного пути. Система, реализующая способ контроля железнодорожного пути, подлежащая установке на транспортном средстве, содержит: по меньшей мере, один источник света, являющийся лазером, расположенный рядом с железнодорожным путем для проецирования пучка света от края до края железнодорожного полотна, один оптический приемник, расположенный рядом с железнодорожным путем. При этом оптический приемник содержит цифровую камеру, один процессор для анализа совокупности изображений и определения географического местоположения совокупности изображений. Причем процессор выполнен с возможностью компилирования совокупности изображения и записи соответствующего географического местоположения совокупности изображений. 4 н. и 66 з.п. ф-лы, 17 ил.

Дирекция сайта "Промышленная Сибирь"
Россия, г.Омск, ул.Учебная, 199-Б, к.408А
Сайт открыт 01.11.2000
© 2000-2018 Промышленная Сибирь
Разработка дизайна сайта:
Дизайн-студия "RayStudio"