Промышленная Сибирь Ярмарка Сибири Промышленность СФО Электронные торги НОУ-ХАУ Электронные магазины Карта сайта
 
 

Поиск патентов

Как искать?
Реферат
Название
Публикация
Регистрационный номер
Имя заявителя
Имя изобретателя
Имя патентообладателя

    





Оформить заказ и задать интересующие Вас вопросы Вы можете напрямую c 6-00 до 14-30 по московскому времени кроме сб, вс. whatsapp 8-950-950-9888

На данной странице представлена ознакомительная часть выбранного Вами патента

Для получения более подробной информации о патенте (полное описание, формула изобретения и т.д.) Вам необходимо сделать заказ. Нажмите на «Корзину»


УСТРОЙСТВО ДЛЯ МОНИТОРИНГА СОСТОЯНИЯ БУКС КОЛЕСНЫХ ПАР ВАГОНОВ ДВИЖУЩЕГОСЯ ПОЕЗДА

Номер публикации патента: 2384444

Вид документа: C1 
Страна публикации: RU 
Рег. номер заявки: 2008130746/11 
  Сделать заказПолучить полное описание патента

Редакция МПК: 
Основные коды МПК: B61K009/04    
Аналоги изобретения: SU 677971 A1, 05.08.1979. RU 2274572 C1, 20.04.2006. JP 2003049859 A, 21.02.2003. EP 1293766 A1, 19.03.2003. US 4119284 A, 10.10.1978. 

Имя заявителя: Открытое Акционерное Общество "Завод "Автоприбор" (RU) 
Изобретатели: Руфицкий Михаил Всеволодович (RU)
Давыдов Николай Николаевич (RU) 
Патентообладатели: Открытое Акционерное Общество "Завод "Автоприбор" (RU) 

Реферат


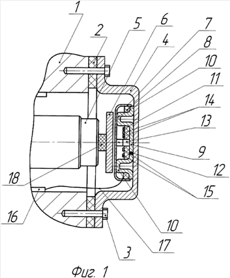
Изобретение относится к области автоматизации контроля состояния узлов подвижного состава железнодорожного транспорта. Устройство для мониторинга состояния букс колесных пар вагонов движущегося поезда содержит датчики, микропроцессор, активный приемопередатчик, генератор электрического напряжения питания, в составе магнитного элемента, листового подвижного магнитопровода, витков электрических проводников, диодных выпрямителей и аккумуляторов. Дополнительно введены термостойкая кольцевая прокладка, электрически изолирующая крышку от буксы, многослойное коммутационное основание, защитная крышка элементов, размещенных на поверхности коммутационного основания, и листовой неподвижный магнитопровод. Многослойное коммутационное основание, в котором выполнены центральное и равномерно расположенные по окружности вокруг него периферийные отверстия, неподвижно размещено на внутренней стороне крышки. На многослойном коммутационном основании установлены микропроцессор, диодные выпрямители, аккумуляторы и электрорадиоэлементы приемопередатчика, выходная шина которого электрически соединена с крышкой буксы. Листовой неподвижный магнитопровод выполнен в виде многоконечной плоской звезды с лучами, а на концах лучей исполнены цилиндрические выдавки. Достигается повышение надежности функционирования устройства. 3 з.п. ф-лы, 5 ил.

Дирекция сайта "Промышленная Сибирь"
Россия, г.Омск, ул.Учебная, 199-Б, к.408А
Сайт открыт 01.11.2000
© 2000-2018 Промышленная Сибирь
Разработка дизайна сайта:
Дизайн-студия "RayStudio"