Промышленная Сибирь Ярмарка Сибири Промышленность СФО Электронные торги НОУ-ХАУ Электронные магазины Карта сайта
 
 

Поиск патентов

Как искать?
Реферат
Название
Публикация
Регистрационный номер
Имя заявителя
Имя изобретателя
Имя патентообладателя

    





Оформить заказ и задать интересующие Вас вопросы Вы можете напрямую c 6-00 до 14-30 по московскому времени кроме сб, вс. whatsapp 8-950-950-9888

На данной странице представлена ознакомительная часть выбранного Вами патента

Для получения более подробной информации о патенте (полное описание, формула изобретения и т.д.) Вам необходимо сделать заказ. Нажмите на «Корзину»


КОЛЕСНАЯ ПАРА ЛОКОМОТИВА

Номер публикации патента: 2372231

Вид документа: C1 
Страна публикации: RU 
Рег. номер заявки: 2008115788/11 
  Сделать заказПолучить полное описание патента

Редакция МПК: 
Основные коды МПК: B61K003/02    
Аналоги изобретения: RU 2236362 C1, 20.09.2004. RU 2236361 C1, 20.09.2004. RU 2236364 С1, 20.09.2004. RU 2247673 C1, 10.03.2005. US 3944025 A, 16.03.1976. 

Имя заявителя: Государственное образовательное учреждение высшего профессионального образования "Елецкий государственный университет им. И.А. Бунина" (RU) 
Изобретатели: Сливинский Евгений Васильевич (RU)
Киселёв Валентин Иванович (RU)
Егоров Сергей Геннадьевич (RU)
Лукашов Дмитрий Вячеславович (RU) 
Патентообладатели: Государственное образовательное учреждение высшего профессионального образования "Елецкий государственный университет им. И.А. Бунина" (RU) 

Реферат


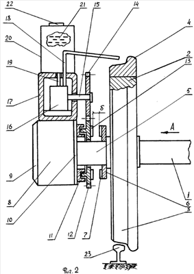
Изобретение относится к области рельсовых транспортных средств и может быть использовано в конструкциях магистральных и промышленных тепловозов и электровозов. Колесная пара локомотива состоит из оси, на которой жестко закреплены колесные центры с бандажами, снабженные гребнями. На предподступичной части осей закреплены диски с магнитными шлицами, взаимодействующими со шлицами шестерен, которые находятся в зацеплении с зубчатыми колесами, передающими вращающий момент насосам объемного действия, подающим смазочный материал на гребни бандажей при входе локомотива в кривую пути. Технический результат: повышение долговечности гребней колес колесных пар рельсовых транспортных средств. 2 ил.

Дирекция сайта "Промышленная Сибирь"
Россия, г.Омск, ул.Учебная, 199-Б, к.408А
Сайт открыт 01.11.2000
© 2000-2018 Промышленная Сибирь
Разработка дизайна сайта:
Дизайн-студия "RayStudio"