RU 2181677 C2, 27.04.2002. DE 747330 A, 03.02.1944. EP 0826569 A2, 04.03.1998. DE 29703351 U1, 28.05.1997. RU 2000122472 A, 20.08.2002.
Имя заявителя:
ВОЙС ПАТЕНТ ГМБХ (DE)
Изобретатели:
ГАНСВАЙДТ Михаэль (DE)
Патентообладатели:
ВОЙС ПАТЕНТ ГМБХ (DE)
Приоритетные данные:
11.09.2007 EP 07116137.6
Реферат
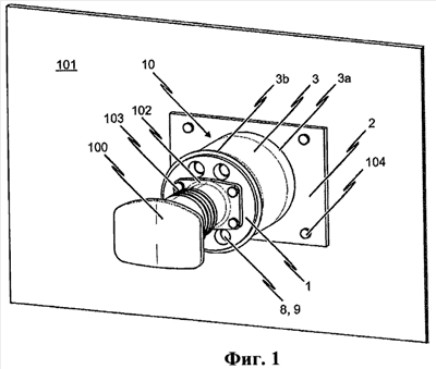
Изобретение относится к энергопоглощающему узлу (10) для использования в комбинации с UIC-буфером или боковым буфером (100). Энергопоглощающий узел (10) имеет основную пластину (2) для соединения энергопоглощающего узла (10) с опорной рамой или шасси (101) основной конструкции предпочтительно отсоединяемым образом, соединительную пластину (1), к которой так называемый UIC-буфер (100) может быть присоединен, и защитный энергопоглощающий элемент (3), который может быть установлен с упором между основной пластиной (2) и соединительной пластиной (1) без люфта. В результате энергия удара, которая передается через боковой буфер при столкновении, надежно рассеивается. 13 з.п. ф-лы, 3 ил.