|
На данной странице представлена ознакомительная часть выбранного Вами патента
Для получения более подробной информации о патенте (полное описание, формула изобретения и т.д.) Вам необходимо сделать заказ. Нажмите на «Корзину»
| УЗЕЛ КРЕПЛЕНИЯ ЩИТКА ОТОПИТЕЛЬНОЙ СИСТЕМЫ ВАГОНА |  |
Номер публикации патента: 2174081 |  |
| Редакция МПК: | 7 | | Основные коды МПК: | B61D027/00 | | Аналоги изобретения: | DD 252803 A1, 30.12.1987. GB 2248923 A, 22.04.1992. EP 0420308 A1, 03.04.1991. RU 2133919 C1, 27.07.1999. |
| Имя заявителя: | Открытое акционерное общество "Тверской вагоностроительный завод" | | Изобретатели: | Гришутин А.Ю. | | Патентообладатели: | Открытое акционерное общество "Тверской вагоностроительный завод" |
Реферат |  |
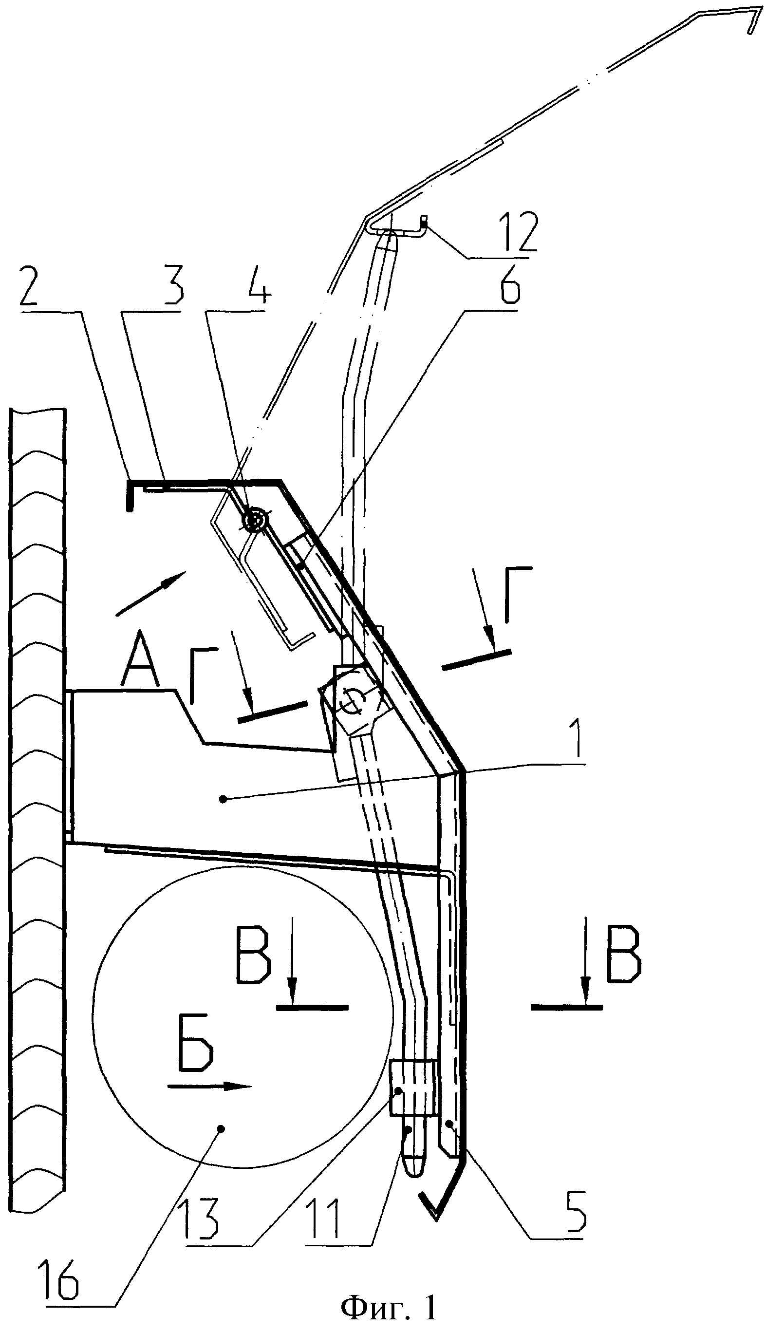
Изобретение относится к вагоностроению, а именно к отопительной системе. Узел крепления щитка отопительной системы вагона содержит настенный горизонтальный кронштейн (1), запирающийся откидной щиток (2) выпуклого профиля с прикрепленной к нему планкой (3) шарнира (4) и опорные элементы каркаса, внутренней стороной приваренные к торцу горизонтального кронштейна. К верхним концам опорных элементов (5) каркаса, имеющих профиль швеллера, приварены встречные выступы (6), соединенные каждый винтовым креплением со второй планкой упомянутого шарнира. Горизонтальный кронштейн снабжен установленной на оси поворотной подпоркой, взаимодействующей фиксирующим упором щитка. Нижний участок опорного элемента каркаса снабжен зажимом для фиксирования опущенной подпорки. Горизонтальный кронштейн выполнен раздвижным с частями, соединенными между собой посредством продолговатых отверстий и винтовых креплений. Настенная часть кронштейна снабжена расположенной над ней консолью, несущей на контактной сварке стационарный щиток, расположенный вровень с откидывающимся щитком. Изобретение упрощает конструкцию и позволяет улучшить внешний вид. 3 з.п. ф-лы, 5 ил.
|