Промышленная Сибирь Ярмарка Сибири Промышленность СФО Электронные торги НОУ-ХАУ Электронные магазины Карта сайта
 
 

Поиск патентов

Как искать?
Реферат
Название
Публикация
Регистрационный номер
Имя заявителя
Имя изобретателя
Имя патентообладателя

    





Оформить заказ и задать интересующие Вас вопросы Вы можете напрямую c 6-00 до 14-30 по московскому времени кроме сб, вс. whatsapp 8-950-950-9888

На данной странице представлена ознакомительная часть выбранного Вами патента

Для получения более подробной информации о патенте (полное описание, формула изобретения и т.д.) Вам необходимо сделать заказ. Нажмите на «Корзину»


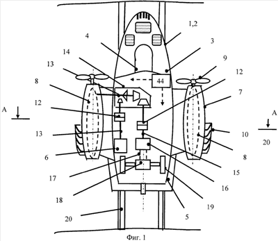
ГАЗОТУРБОВОЗ

Номер публикации патента: 2380249

Вид документа: C2 
Страна публикации: RU 
Рег. номер заявки: 2008115651/11 
  Сделать заказПолучить полное описание патента

Редакция МПК: 
Основные коды МПК: B61C005/00    
Аналоги изобретения: US 4233908, 18.11.1980. EP 1340903 A2, 03.09.2003. Бартош Е.Т. Газотурбовозы и турбопоезда. - М. Трансп., 1978, с.227. 

Имя заявителя: Болотин Николай Борисович (RU) 
Изобретатели: Болотин Николай Борисович (RU) 
Патентообладатели: Болотин Николай Борисович (RU) 

Реферат


Изобретение относится к локомотивам с газотурбинным двигателем, работающим на сжиженном природном газе. Газотурбовоз содержит корпус, имеющий крышу и боковые стенки, основную силовую установку в виде двух газотурбинных двигателей, а также вспомогательный дизель, соединенные кинематически. Применено два турбовинтовых газотурбинных двигателя с воздушными винтами, установленные в мотогондолах, прикрепленных к боковым стенкам корпуса газотурбовоза, на крыше корпуса установлен, по меньшей мере, один аэродинамический стабилизатор. Технический результат заключается в повышении надежности работы газотурбовоза и обеспечения возможности его маневрирования. 1 з. п. ф-лы, 4 ил.

Дирекция сайта "Промышленная Сибирь"
Россия, г.Омск, ул.Учебная, 199-Б, к.408А
Сайт открыт 01.11.2000
© 2000-2018 Промышленная Сибирь
Разработка дизайна сайта:
Дизайн-студия "RayStudio"