|
На данной странице представлена ознакомительная часть выбранного Вами патента
Для получения более подробной информации о патенте (полное описание, формула изобретения и т.д.) Вам необходимо сделать заказ. Нажмите на «Корзину»
| ПОРШЕНЬ ДИСКОВОГО ТОРМОЗА, ИЗГОТОВЛЕННЫЙ ВЫТЯЖКОЙ |  |
Номер публикации патента: 2163987 |  |
| Редакция МПК: | 7 | | Основные коды МПК: | F16J001/00 B60T017/08 | | Аналоги изобретения: | WO 91/12445 A1, 22.08.1991. WO 95/14869 A1, 01.06.1995. GB 1169251 A 05.11.1969. DE 3834420 A1, 12.04.1990. SU 605537 A, 05.05.1978. SU 1284939 A1, 23.01.1981. SU 861719 A, 07.09.1981. |
| Имя заявителя: | Общество с ограниченной ответственностью "Синхрон-Рус" (RU) | | Изобретатели: | Беннетт Скотт Вудворд (US) Геллер В.Г.(RU) Елкин Н.М.(RU) | | Патентообладатели: | Общество с ограниченной ответственностью "Синхрон-Рус" (RU) |
Реферат |  |
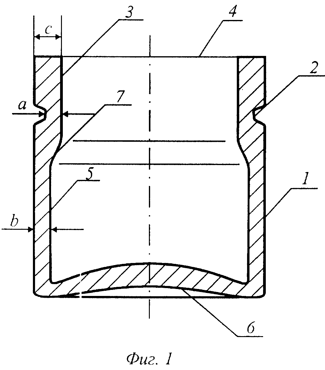
Поршень предназначен для дисковых тормозов автомобилей. Поршень имеет внешнюю цилиндрическую стенку 1, в которой выполнена канавка 2. Внутреннее пространство поршня образовано совокупностью нескольких поверхностей: цилиндрической поверхностью 3, которая прилегает к торцу 4 и перекрывает по осевой линии поршня уровень расположения канавки 2, цилиндрической поверхностью 5, прилегающей ко дну 6. Цилиндрические поверхности 3 и 5 имеют разный диаметр: диаметр поверхности 3, прилегающей к открытому торцу, меньше диаметра цилиндрической поверхности 5, прилегающей ко дну. Требование, которое предъявляется к их соотношению, - обеспечение такой толщины (а) стенки поршня на уровне канавки 2, которая обеспечит прочность в этой области не меньшую, чем в области на уровне второй цилиндрической поверхности с толщиной стенок (b), а также достаточную по условию контактной прочности толщину стенки (с) на уровне торца. Увеличение толщины стенок части поршня, в которой расположена канавка, позволяет выбрать величину (а) такой, при которой эта область будет устойчива к рабочим осевым нагрузкам, не увеличивая при этом величину (b) сверх значения, обеспечивающего устойчивость к рабочим осевым нагрузкам остальной части стенок поршня. Их соединение обеспечивает конусообразная поверхность 7 с закругленными краями, обеспечивающими плавное соединение конусообразной поверхности с цилиндрическими 3 и 5 поршнями. Технический результат - повышение прочности. 4 з.п.ф-лы. 3 ил.
|