Промышленная Сибирь Ярмарка Сибири Промышленность СФО Электронные торги НОУ-ХАУ Электронные магазины Карта сайта
 
 

Поиск патентов

Как искать?
Реферат
Название
Публикация
Регистрационный номер
Имя заявителя
Имя изобретателя
Имя патентообладателя

    





Оформить заказ и задать интересующие Вас вопросы Вы можете напрямую c 6-00 до 14-30 по московскому времени кроме сб, вс. whatsapp 8-950-950-9888

На данной странице представлена ознакомительная часть выбранного Вами патента

Для получения более подробной информации о патенте (полное описание, формула изобретения и т.д.) Вам необходимо сделать заказ. Нажмите на «Корзину»


СПОСОБ ЗАТОРМОЖЕНИЯ АВТОТОРМОЗА

Номер публикации патента: 2473436

Вид документа: C1 
Страна публикации: RU 
Рег. номер заявки: 2011137095/11 
  Сделать заказПолучить полное описание патента

Редакция МПК: 
Основные коды МПК: B60T013/68   B60T015/36   B60T007/12    
Аналоги изобретения: SU 1181922 A1, 30.09.1985. EP 0032567 A1, 29.07.1981. RU 50949 U1, 27.01.2006. US 4561700 A, 31.12.1985. RU 2048343 C1, 20.11.1995. 

Имя заявителя: Маликов Николай Васильевич (RU) 
Изобретатели: Маликов Николай Васильевич (RU) 
Патентообладатели: Маликов Николай Васильевич (RU) 

Реферат


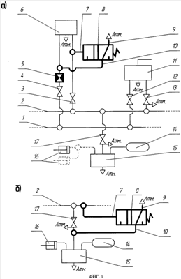
Изобретение относится к области железнодорожного транспорта и может быть использовано преимущественно в тормозных системах железнодорожного тягового, пассажирского и специального подвижного состава. Способ заключается во введении в число компонентов автоматического пневматического тормоза блокировочного клапана, управляющий отросток которого сообщают на самоходном подвижном составе указанных типов с отростком электропневматического клапана автостопа, подключенного к тормозной магистрали через разобщительный кран, а на несамоходном подвижном составе указанных типов сообщают непосредственно с тормозной магистралью. Входной отросток блокировочного клапана сообщают в первом случае с отростком электропневматического клапана автостопа, связанного с питательной магистралью через разобщительный кран, в который дополнительно устанавливают дроссельное отверстие, а во втором случае - с отростком воздухораспределителя, связанным через разобщительный кран с тормозной магистралью. Срабатывание блокировочного клапана, сообщающее входной отросток с выходным отростком, постоянно связанным с атмосферой, обеспечивают при снижении уровня давления сжатого воздуха в тормозной магистрали ниже предельно допустимого при полном служебном торможении автотормоза. Достигается обеспечение разрядки тормозной магистрали рабочим темпом при предшествующем снижении любым темпом уровня давления сжатого воздуха в ней ниже предельно допустимого при полном служебном торможении автотормоза, что направлено на достижение возможности автоматического заторможения подвижного состава упомянутых типов, а также обеспечение усиления интенсивности разрядки тормозной магистрали при экстренном торможении автотормоза и исключение возможности непреднамеренного перекрытия разобщительного крана на отростке электропневматического клапана автостопа к тормозной магистрали. 1 ил.

Дирекция сайта "Промышленная Сибирь"
Россия, г.Омск, ул.Учебная, 199-Б, к.408А
Сайт открыт 01.11.2000
© 2000-2018 Промышленная Сибирь
Разработка дизайна сайта:
Дизайн-студия "RayStudio"