Промышленная Сибирь Ярмарка Сибири Промышленность СФО Электронные торги НОУ-ХАУ Электронные магазины Карта сайта
 
 

Поиск патентов

Как искать?
Реферат
Название
Публикация
Регистрационный номер
Имя заявителя
Имя изобретателя
Имя патентообладателя

    





Оформить заказ и задать интересующие Вас вопросы Вы можете напрямую c 6-00 до 14-30 по московскому времени кроме сб, вс. whatsapp 8-950-950-9888

На данной странице представлена ознакомительная часть выбранного Вами патента

Для получения более подробной информации о патенте (полное описание, формула изобретения и т.д.) Вам необходимо сделать заказ. Нажмите на «Корзину»


ПЕРЕДНЯЯ ЧАСТЬ ДЛЯ АВТОМОБИЛЯ

Номер публикации патента: 2431575

Вид документа: C2 
Страна публикации: RU 
Рег. номер заявки: 2009107920/11 
  Сделать заказПолучить полное описание патента

Редакция МПК: 
Основные коды МПК: B60R021/34   B62D025/08    
Аналоги изобретения: ЕР 1580097 А2, 28.09.2005. FR 2863981 A1, 24.06.2005. JP 2004203183 A, 22.07.2004. RU 2003126078 A, 20.03.2005. 

Имя заявителя: ДЖИ ЭМ ГЛОУБАЛ ТЕКНОЛОДЖИ ОПЕРЕЙШНЗ, ИНК. (US) 
Изобретатели: ХОК Теобальд (DE)
НГУЙЕН Виет-Хунг (DE)
ЗАХС Мартин Леонхард (DE) 
Патентообладатели: ДЖИ ЭМ ГЛОУБАЛ ТЕКНОЛОДЖИ ОПЕРЕЙШНЗ, ИНК. (US) 
Приоритетные данные: 07.08.2006 DE 10 2006 036 852.5 

Реферат


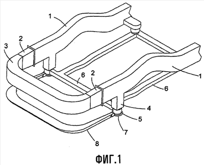
Изобретение относится к передней части для кузова автомобиля. Передняя часть имеет основную раму (1, 2, 3, 4), которая содержит верхнюю буферную балку (3), проходящий под верхней буферной балкой (3) нижний усиливающий элемент (8) для буфера (26) и упруго закрепленную на основной раме (1, 2, 3, 4) через амортизатор (5) нижнюю раму (6). Амортизатор (5) удерживается между концевой частью (7) усиливающего элемента (8) и основной рамой (1, 2, 3, 4). Достигается упрощение конструкции при надежной фиксации усиливающего элемента. 13 з.п. ф-лы, 5 ил.

Дирекция сайта "Промышленная Сибирь"
Россия, г.Омск, ул.Учебная, 199-Б, к.408А
Сайт открыт 01.11.2000
© 2000-2018 Промышленная Сибирь
Разработка дизайна сайта:
Дизайн-студия "RayStudio"