Промышленная Сибирь Ярмарка Сибири Промышленность СФО Электронные торги НОУ-ХАУ Электронные магазины Карта сайта
 
 

Поиск патентов

Как искать?
Реферат
Название
Публикация
Регистрационный номер
Имя заявителя
Имя изобретателя
Имя патентообладателя

    





Оформить заказ и задать интересующие Вас вопросы Вы можете напрямую c 6-00 до 14-30 по московскому времени кроме сб, вс. whatsapp 8-950-950-9888

На данной странице представлена ознакомительная часть выбранного Вами патента

Для получения более подробной информации о патенте (полное описание, формула изобретения и т.д.) Вам необходимо сделать заказ. Нажмите на «Корзину»


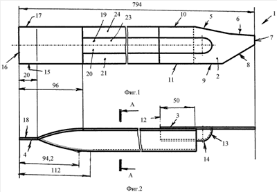
КОМБИНИРОВАННЫЙ ПРОФИЛЬ БРУСА БЕЗОПАСНОСТИ ДВЕРИ АВТОМОБИЛЯ

Номер публикации патента: 2410254

Вид документа: C1 
Страна публикации: RU 
Рег. номер заявки: 2009128342/11 
  Сделать заказПолучить полное описание патента

Редакция МПК: 
Основные коды МПК: B60R019/42    
Аналоги изобретения: WO 97/36761 A1, 09.10.1997. EP 0685355 A1, 06.12.1995. RU 2141414 C1, 20.11.1999. RU 2243911 C1, 10.01.2005. 

Имя заявителя: ООО "Мобиль" (RU) 
Изобретатели: Крупеня Виктор Николаевич (RU) 
Патентообладатели: ООО "Мобиль" (RU) 

Реферат


Изобретение относится к области машиностроения, а именно к средствам защиты дверей автомобиля от случайных динамических ударов, возникающих при скоростных режимах движущегося автомобиля. Комбинированный профиль бруса безопасности двери автомобиля содержит отформованную консоль цельнотянутого профиля, являющегося продолжением изменяющегося по высоте профиля бруса на размере 94,2 мм с одной стороны и приваренную консоль на участке в 50 мм, имеющую пластинчатую форму с выступом для усиления зоны пространственной желобчатой формы с другой стороны. Профиль бруса установлен внутри двери автомобиля по клинообразным поверхностям приваренной консоли и по плоским поверхностям отформованной консоли для обеспечения растяжения профиля бруса при его двухконсольной установке на длине 794 мм для демпфирования динамических нагрузок. Достигается повышение безопасности пассажиров транспортного средства при столкновении. 3 ил.

Дирекция сайта "Промышленная Сибирь"
Россия, г.Омск, ул.Учебная, 199-Б, к.408А
Сайт открыт 01.11.2000
© 2000-2018 Промышленная Сибирь
Разработка дизайна сайта:
Дизайн-студия "RayStudio"