|
На данной странице представлена ознакомительная часть выбранного Вами патента
Для получения более подробной информации о патенте (полное описание, формула изобретения и т.д.) Вам необходимо сделать заказ. Нажмите на «Корзину»
| ШАРНИР КАРДАННОГО ВАЛА |  |
Номер публикации патента: 2176754 |  |
| Редакция МПК: | 7 | | Основные коды МПК: | F16D003/24 F16D003/26 B60K017/22 | | Аналоги изобретения: | SU 1832083, 07.08.1993. SU 1516643, 23.10.1989. БЕЙЗЕЛЬМАН Р.Д., ЦЫПКИН Б.Н. Подшипники качения. - Справочник. - М.: Государственное научно-техническое издательство машиностроительной литературы, М., 1951, с. 344-347. US 3655466, 11.04.1972. JP 5331616, 14.13.1993. |
| Имя заявителя: | Лобозов Владимир Петрович (RU) | | Изобретатели: | Лобозов В.П. (RU) Шепеляковский К.З. (RU) Никитин С.И. (RU) Кузнецов А.А. (RU) Кравченко Виктор Иванович (BY) Дереченик Леонард Иосифович (BY) Костюкович Геннадий Александрович (BY) Гагасов Александр Матвеевич (BY) | | Патентообладатели: | Закрытое акционерное общество "ТЕХМАШ" (RU) Открытое акционерное общество "Белкард" (BY) |
Реферат |  |
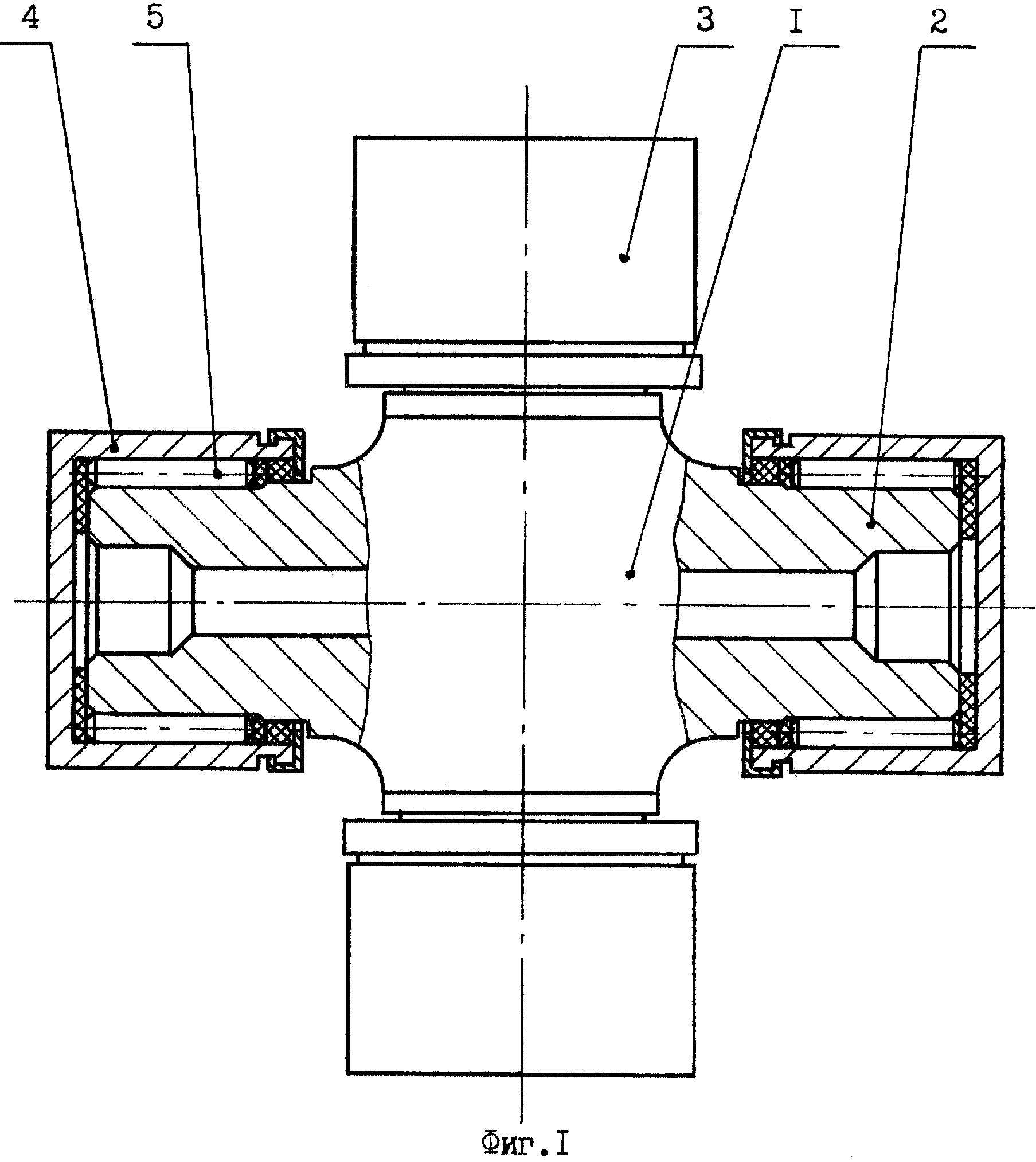
Изобретение относится к области машиностроения, а именно к шарнирам карданного вала, и может быть использовано в трансмиссиях различных транспортных средств. Шарнир карданного вала включает крестовину с установленным на каждом ее шипе игольчатым подшипником. Крестовина, наружное кольцо и игольчатые ролики игольчатого подшипника выполнены из конструкционной углеродистой стали с пониженной прокаливаемостью, причем содержание углерода в конструкционной стали, выбранной для изготовления крестовины и наружного кольца, одинаковое, а содержание углерода в конструкционной стали, выбранной для изготовления игольчатых роликов, составляет 1,21-1,33 от содержания углерода в конструкционной стали, выбранной для изготовления крестовины и наружного кольца. Технический результат - повышение долговечности, надежности и контактной прочности при одновременном снижении стоимости. 4 з.п. ф-лы, 1 ил., 1 табл.
|