Промышленная Сибирь Ярмарка Сибири Промышленность СФО Электронные торги НОУ-ХАУ Электронные магазины Карта сайта
 
 

Поиск патентов

Как искать?
Реферат
Название
Публикация
Регистрационный номер
Имя заявителя
Имя изобретателя
Имя патентообладателя

    





Оформить заказ и задать интересующие Вас вопросы Вы можете напрямую c 6-00 до 14-30 по московскому времени кроме сб, вс. whatsapp 8-950-950-9888

На данной странице представлена ознакомительная часть выбранного Вами патента

Для получения более подробной информации о патенте (полное описание, формула изобретения и т.д.) Вам необходимо сделать заказ. Нажмите на «Корзину»


ЗАДНЯЯ ПОДВИЖНАЯ СТЕНКА ДЛЯ МЕХАНИЧЕСКОГО ТРАНСПОРТНОГО СРЕДСТВА

Номер публикации патента: 2441772

Вид документа: C2 
Страна публикации: RU 
Рег. номер заявки: 2009114701/11 
  Сделать заказПолучить полное описание патента

Редакция МПК: 
Основные коды МПК: B60J005/10   B60J010/08    
Аналоги изобретения: WO 2005042287 А1, 12.05.2005. US 2005253406 А1, 17.11.2005. FR 2849807 A1, 16.07.2004. 

Имя заявителя: ИНОПЛАСТ (FR) 
Изобретатели: АШЕ Бертран (FR) 
Патентообладатели: ИНОПЛАСТ (FR) 
Приоритетные данные: 20.09.2006 FR 0653850 

Реферат


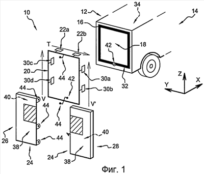
Изобретение относится к задней подвижной стенке (10), используемой в механическом транспортном средстве (14). Механическое транспортное средство (14) содержит кузов (12) с кольцом в задней части кузова (16). Подвижная стенка (10) включает раму (20), содержащую средства крепления (22) для закрепления двери (24) на раме (20). Дверь (24) устанавливается подвижной на раме (20). Элемент уплотнения (32) используется для обеспечения водонепроницаемого соединения между дверью (24) и задним кольцом (16) кузова, когда дверь (24) и рама находятся в закрытом положении. Достигается обеспечение герметичности. 9 з.п. ф-лы, 5 ил., 1 табл.

Дирекция сайта "Промышленная Сибирь"
Россия, г.Омск, ул.Учебная, 199-Б, к.408А
Сайт открыт 01.11.2000
© 2000-2018 Промышленная Сибирь
Разработка дизайна сайта:
Дизайн-студия "RayStudio"