Промышленная Сибирь Ярмарка Сибири Промышленность СФО Электронные торги НОУ-ХАУ Электронные магазины Карта сайта
 
 

Поиск патентов

Как искать?
Реферат
Название
Публикация
Регистрационный номер
Имя заявителя
Имя изобретателя
Имя патентообладателя

    





Оформить заказ и задать интересующие Вас вопросы Вы можете напрямую c 6-00 до 14-30 по московскому времени кроме сб, вс. whatsapp 8-950-950-9888

На данной странице представлена ознакомительная часть выбранного Вами патента

Для получения более подробной информации о патенте (полное описание, формула изобретения и т.д.) Вам необходимо сделать заказ. Нажмите на «Корзину»


ЭЛЕКТРОПНЕВМАТИЧЕСКАЯ ПОДВЕСКА

Номер публикации патента: 2443573

Вид документа: C2 
Страна публикации: RU 
Рег. номер заявки: 2010117793/11 
  Сделать заказПолучить полное описание патента

Редакция МПК: 
Основные коды МПК: B60G011/27   F16F009/04   F16F015/03    
Аналоги изобретения: RU 2325285 C1, 27.05.2008. RU 2286491 C2, 27.10.2006. DE 19605802 A1, 21.08.1997. US 2002089107 A1, 11.07.2002. 

Имя заявителя: Негосударственное образовательное учреждение высшего профессионального образования "Академический институт прикладной энергетики" (RU) 
Изобретатели: Хамитов Рустам Нуриманович (RU)
Аверьянов Геннадий Сергеевич (RU)
Ковалев Александр Юрьевич (RU) 
Патентообладатели: Негосударственное образовательное учреждение высшего профессионального образования "Академический институт прикладной энергетики" (RU) 

Реферат


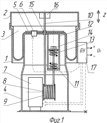
Изобретение относится к виброзащитной технике, а именно к опорным виброзащитным элементам для крупногабаритных объектов. Подвеска содержит резинокордную оболочку (1) с крышкой (2), образующие основную рабочую емкость (3) и дополнительную емкость (4), расположенную между ними перегородку (5) с отверстием, связывающим обе емкости, с установленным в нем электромагнитным клапаном (6). В дополнительной емкости (4) размещен динамический гаситель колебаний, включающий электродвигатель (7), имеющий на валу (8) барабан (9) с намотанным на него тросом (10), и устройство натяга троса (11), размещенное на перегородке (5). Один конец троса (10) закреплен в устройстве натяга (11) троса, второй - на крышке (2) рабочей емкости (3). Клапан (6) и электродвигатель (7) подсоединены к блоку управления (17). Достигается повышение демпфирующих свойств пневматической подвески. 2 з.п. ф-лы, 3 ил.

Дирекция сайта "Промышленная Сибирь"
Россия, г.Омск, ул.Учебная, 199-Б, к.408А
Сайт открыт 01.11.2000
© 2000-2018 Промышленная Сибирь
Разработка дизайна сайта:
Дизайн-студия "RayStudio"