|
На данной странице представлена ознакомительная часть выбранного Вами патента
Для получения более подробной информации о патенте (полное описание, формула изобретения и т.д.) Вам необходимо сделать заказ. Нажмите на «Корзину»
| АУДИТОРНАЯ ДОСКА |  |
Номер публикации патента: 2179930 |  |
| Редакция МПК: | 7 | | Основные коды МПК: | B43L001/04 | | Аналоги изобретения: | SU 1105332 А, 30.07.1984. RU 5947 U1, 16.02.1998. DE 3023067 А1, 14.01.1982. US 2269628 А, 13.01.1942. |
| Имя заявителя: | Ямщиков Евгений Петрович | | Изобретатели: | Ямщиков Е.П. Ямщикова И.Е. | | Патентообладатели: | Ямщиков Евгений Петрович Ямщикова Ирина Евгеньевна |
Реферат |  |
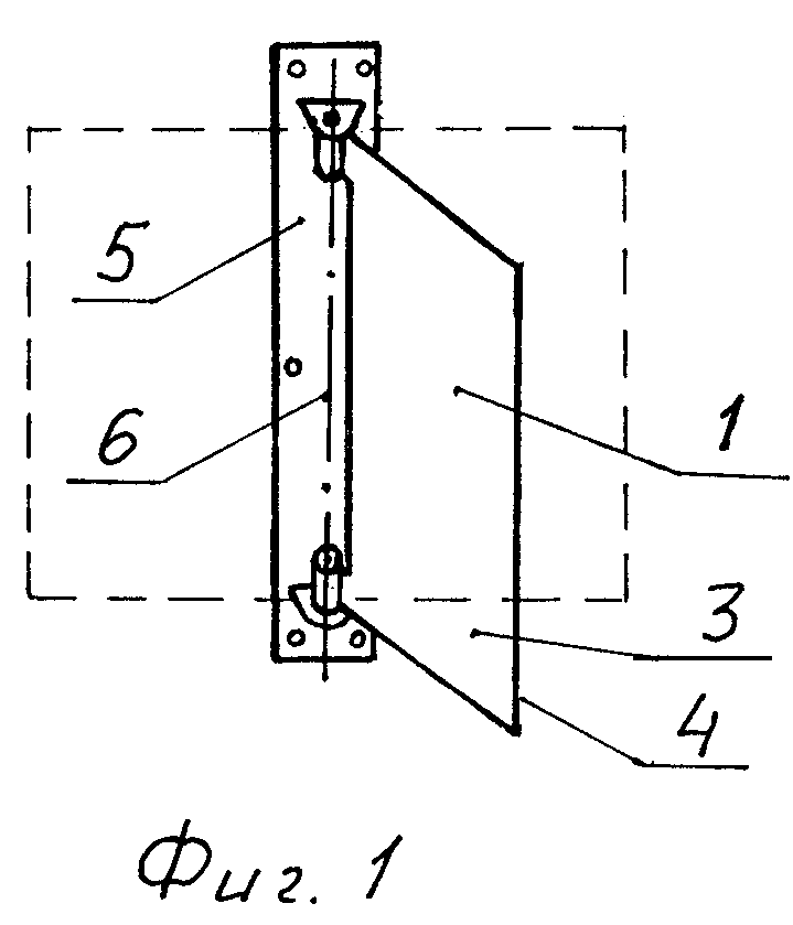
Изобретение предназначено для использования в учебных заведениях. Доска содержит по крайней мере одну поворотную панель с рабочими поверхностями на лицевой и оборотной сторонах для нанесения информации. Узлы крепления панелей расположены на противоположных кромках панелей или на одной кромке с возможностью поворота относительно оси, параллельной плоскости крепления к стене. Узлы крепления панелей состоят из подвижной полупетли, закрепленной на кромке панели и посредством оси соединенной с неподвижным основанием узла крепления к стене или в виде двух стержней. Стержни шарнирно соединены с одной стороны с серединами противоположных кромок панели, а с другой - с кронштейнами крепления к стене. Длина стрежней превышает половину длины кромок. Обеспечивается повышение эффективности использования рабочей поверхности доски. 7 з.п. ф-лы, 11 ил.
|