Промышленная Сибирь Ярмарка Сибири Промышленность СФО Электронные торги НОУ-ХАУ Электронные магазины Карта сайта
 
 

Поиск патентов

Как искать?
Реферат
Название
Публикация
Регистрационный номер
Имя заявителя
Имя изобретателя
Имя патентообладателя

    





Оформить заказ и задать интересующие Вас вопросы Вы можете напрямую c 6-00 до 14-30 по московскому времени кроме сб, вс. whatsapp 8-950-950-9888

На данной странице представлена ознакомительная часть выбранного Вами патента

Для получения более подробной информации о патенте (полное описание, формула изобретения и т.д.) Вам необходимо сделать заказ. Нажмите на «Корзину»


ЛИФТ С РЕМНЕМ, РЕМЕНЬ ДЛЯ ТАКОГО ЛИФТА, КОМПОЗИЦИОННЫЙ РЕМЕНЬ ИЗ ТАКИХ РЕМНЕЙ

Номер публикации патента: 2448031

Вид документа: C2 
Страна публикации: RU 
Рег. номер заявки: 2007130686/11 
  Сделать заказПолучить полное описание патента

Редакция МПК: 
Основные коды МПК: B66B007/06   B29D029/10    
Аналоги изобретения: ЕР 1396458 А2, 10.03.2004. US 2296740 А, 22.09.1942. DE 1039795 В, 25.09.1958. US 2003139242 A1, 24.07.2003. WO 2004053355 A1, 24.06.2004. US 3098778 A, 23.07.1963. US 6488123 B2, 03.12.2002. DE 2538691 A1, 03.03.1977. WO 2006000500 A1, 05.01.2006. DE 438102 C, 06.12.1926. US 2006175139 A1, 10.08.2006. 

Имя заявителя: ИНВЕНЦИО АГ (CH) 
Изобретатели: АХ Эрнст (CH)
БОННАР Люк (CH) 
Патентообладатели: ИНВЕНЦИО АГ (CH) 
Приоритетные данные: 11.08.2006 EP 06118824.9 

Реферат


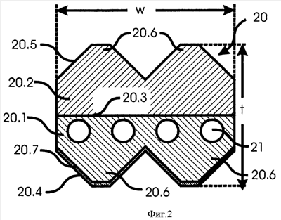
Лифт содержит кабину (3), привод (2) и ременное устройство с ремнем (12), который включает в себя тело (20), в котором расположено кордшнуровое устройство (21) и которое имеет на первой стороне сечения в направлении высоты ремня (12) первую контактную поверхность (20.4), а на второй стороне сечения, противоположной первой стороне сечения в направлении высоты ремня, - вторую контактную поверхность (20.5). Отношение максимальной ширины (w) к максимальной высоте (t) ремня лежит в диапазоне от 0,8 до 1,0, преимущественно в диапазоне от 0,9 до 1,0, и особенно предпочтительно составляет 1,0. Уменьшается опасность защемления ремня в ременном шкиве. 3 н. и 13 з.п. ф-лы, 11 ил.

Дирекция сайта "Промышленная Сибирь"
Россия, г.Омск, ул.Учебная, 199-Б, к.408А
Сайт открыт 01.11.2000
© 2000-2018 Промышленная Сибирь
Разработка дизайна сайта:
Дизайн-студия "RayStudio"