Промышленная Сибирь Ярмарка Сибири Промышленность СФО Электронные торги НОУ-ХАУ Электронные магазины Карта сайта
 
 

Поиск патентов

Как искать?
Реферат
Название
Публикация
Регистрационный номер
Имя заявителя
Имя изобретателя
Имя патентообладателя

    





Оформить заказ и задать интересующие Вас вопросы Вы можете напрямую c 6-00 до 14-30 по московскому времени кроме сб, вс. whatsapp 8-950-950-9888

На данной странице представлена ознакомительная часть выбранного Вами патента

Для получения более подробной информации о патенте (полное описание, формула изобретения и т.д.) Вам необходимо сделать заказ. Нажмите на «Корзину»


УСТРОЙСТВО ДЛЯ ОБЕРТЫВАНИЯ РАЗНООБРАЗНЫХ ИЗДЕЛИЙ

Номер публикации патента: 2404893

Вид документа: C2 
Страна публикации: RU 
Рег. номер заявки: 2008137601/05 
  Сделать заказПолучить полное описание патента

Редакция МПК: 
Основные коды МПК: B29C065/74    
Аналоги изобретения: US 3713941 A, 30.01.1973. RU 2110944 C1, 20.05.1998. EP 1142790 A2, 10.10.2001. CO 4810369 A1, 30.06.1999. US 3035381 A, 22.05.1962. SU 1630975 A1, 28.02.1991. SU 258567 A1, 17.04.1970. 

Имя заявителя: КОЛИБРИ СИСТЕМ С.п.А. (IT) 
Изобретатели: ФАРНЕТИ Альдо (IT) 
Патентообладатели: КОЛИБРИ СИСТЕМ С.п.А. (IT) 
Приоритетные данные: 20.02.2006 IT MI2006A000303 

Реферат


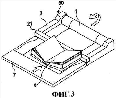
Изобретение относится к устройству для обертывания различных многочисленных изделий листами из пластика. Устройство для обертывания изделий (6) листами из пластика (1) включает в себя средства (21) для разрезания и запаивания листов и средства установки (30) для размещения рулона (1) непрерывного листа пластика в соответствующее положение. Листы взаимодействуют с рабочей плоскостью. Средства установки (30) для размещения рулона (1) служат для разматывания последовательных частей непрерывного листа и размещения этих частей на рабочей плоскости. Устройство содержит боковые направляющие (3) непрерывного листа пластика. Боковые направляющие (3) включают в себя щели для вставки непрерывного листа пластика. Подача листа пластика является горизонтальной. Средства установки интегрально соединены с рабочей плоскостью. Техническим результатом изобретения является упрощение обертывания различных изделий и экономия обертывающих материалов. 2 з.п. ф-лы, 9 ил.

Дирекция сайта "Промышленная Сибирь"
Россия, г.Омск, ул.Учебная, 199-Б, к.408А
Сайт открыт 01.11.2000
© 2000-2018 Промышленная Сибирь
Разработка дизайна сайта:
Дизайн-студия "RayStudio"