|
На данной странице представлена ознакомительная часть выбранного Вами патента
Для получения более подробной информации о патенте (полное описание, формула изобретения и т.д.) Вам необходимо сделать заказ. Нажмите на «Корзину»
| КАЛИБРОВОЧНОЕ УСТРОЙСТВО |  |
Номер публикации патента: 2171180 |  |
| Редакция МПК: | 7 | | Основные коды МПК: | B29C047/90 | | Аналоги изобретения: | GB 1154259 A, 04.06.1969. WO 90/02644 A, 22.03.1990. SU 1224162 A, 15.04.1986. DE 4333480 A1, 06.04.1995. |
| Имя заявителя: | ВИНИДЕКС ТЬЮБМЕЙКЕРЗ ПТИ, ЛИМИТЕД (AU) | | Изобретатели: | ЧЕПМЭН Питер Глэнвилль (AU) УОЛЛЭЙС Аллан Кеннет (AU) КОУЛИНГ Лесли Херберт (AU) ХОЛСО Эйно (SE) ЯРВЕНКИЛА Юри (FI) | | Патентообладатели: | ВИНИДЕКС ТЬЮБМЕЙКЕРЗ ПТИ, ЛИМИТЕД (AU) ЮПОНОР ИННОВЕЙШН А.Б. (SE) | | Номер конвенционной заявки: | PN 5474 | | Страна приоритета: | AU | | Патентный поверенный: | Томская Елена Владимировна |
Реферат |  |
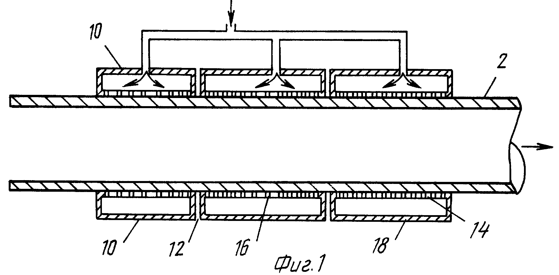
Изобретение относится к калибровочному цилиндру для контроля наружного диаметра пластмассовых труб, перемещающихся через калибровочный цилиндр, производимых непрерывным процессом формования, таким, как экструзия, или процессом расширения. Калибровочный цилиндр имеет входное и выходное отверстия относительно перемещения трубы, включая по меньшей мере две части калибровочного цилиндра, находящиеся под давлением, которые имеют средство для подачи жидкости под давлением по существу по окружности трубы для образования слоя смазочной жидкости между внутренней поверхностью калибровочного цилиндра и трубой. Согласно изобретению части калибровочного цилиндра, находящиеся под давлением, аксиально разделены и изолированы друг от друга дренажной зоной. При этом каждая часть калибровочного цилиндра, находящаяся под давлением, содержит внутренний элемент калибровочного цилиндра, имеющий ряд коаксиальных колец, расположенных торец к торцу, и каждый имеющий ряд отверстий для подачи, простирающихся через него, и кольцевой коллектор для жидкости, радиально окружающий элемент калибровочного цилиндра, принимающий жидкость от средства для подачи жидкости и сообщающийся с данными отверстиями для подачи. Задача, на которую направлено изобретение, заключается в создании калибровочного цилиндра для эффективного контроля наружного диаметра пластмассовой трубы с внутренним давлением, производимой непрерывным процессом формования, таким, как экструзия, или процессом расширения. 12 з.п.ф-лы, 10 ил.
|