Промышленная Сибирь Ярмарка Сибири Промышленность СФО Электронные торги НОУ-ХАУ Электронные магазины Карта сайта
 
 

Поиск патентов

Как искать?
Реферат
Название
Публикация
Регистрационный номер
Имя заявителя
Имя изобретателя
Имя патентообладателя

    





Оформить заказ и задать интересующие Вас вопросы Вы можете напрямую c 6-00 до 14-30 по московскому времени кроме сб, вс. whatsapp 8-950-950-9888

На данной странице представлена ознакомительная часть выбранного Вами патента

Для получения более подробной информации о патенте (полное описание, формула изобретения и т.д.) Вам необходимо сделать заказ. Нажмите на «Корзину»


ФОРМА ДЛЯ ЛИТЬЯ ПОД ДАВЛЕНИЕМ ПЛАСТМАССОВОГО ИЗДЕЛИЯ И СПОСОБ ЛИТЬЯ

Номер публикации патента: 2370366

Вид документа: C2 
Страна публикации: RU 
Рег. номер заявки: 2007109777/12 
  Сделать заказПолучить полное описание патента

Редакция МПК: 
Основные коды МПК: B29C045/16   B29C045/33   B29C039/12    
Аналоги изобретения: US 2003205915 A1, 06.11.2003. US 2002167816 A1, 14.11.2002. JP 61076333 A, 18.04.1986. GB 1370075 A, 09.10.1974. JP 07186186 A, 25.07.1995. RU 2072918 C1, 10.02.1997. 

Имя заявителя: ФОРЕСИА ЭНТЕРЬЕР ЭНДЮСТРИ (FR) 
Изобретатели: РОЙ-МАРТИНАШ Аннабель (FR)
ДИРЬЕНЗО Ален (FR) 
Патентообладатели: ФОРЕСИА ЭНТЕРЬЕР ЭНДЮСТРИ (FR) 
Приоритетные данные: 18.08.2004 FR 0408963 

Реферат


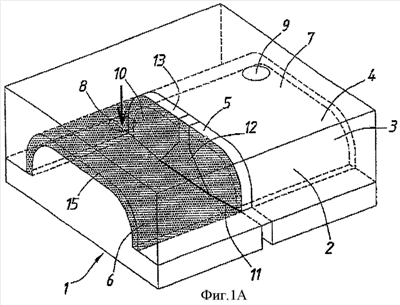
Форма для литья под давлением пластмассового изделия, состоящего, по меньшей мере, из двух смежных частей (15, 16) из двух пластмасс разного типа и/или цвета, соединенных между собой сваркой или склеиванием, содержит формующую полость (1), ограниченную, по меньшей мере, двумя неровными стенками (3, 4) и, по меньшей мере, одной раздвижной перегородкой (5). Последняя подвижна между раздвинутым и сдвинутым положениями и позволяет разделять формующую полость (2), по меньшей мере, на два отделения (6, 7) с раздельной подачей в них пластмассы. В раздвинутом положении раздвижная перегородка (5) содержит нелинейное ребро (13), взаимодействующее без зазора со стенкой (4) формующей полости (2). Раздвижная перегородка содержит множество соединенных встык панелей (10, 11, 12), по меньшей мере, в раздвинутом или сдвинутом положении. Эти панели выполнены подвижными между собой таким образом, что они способны изменять форму нелинейного ребра раздвижной перегородки для приведения ее в соответствие с формой второй стенки (3) формующей полости (2) в сдвинутом положении. Способ изготовления пластмассового изделия, состоящего, по меньшей мере, из двух смежных частей (15, 16) из пластмасс разного типа и/или цвета, литьем под давлением в форме, выполненной в соответствии с различными конструкциями формы по изобретению, отличается тем, что в раздвинутое положение приводится, по меньшей мере, одна раздвижная перегородка (5) формы (1) так, что образуются, по меньшей мере, два формующих отделения. Затем заполняют, по меньшей мере, первое отделение (6) пластмассой первого типа и охлаждают ее. В результате последовательных движений панелей (10, 11, 12), по меньшей мере, одной раздвижной перегородки (5) последнюю сдвигают вместе для приведения в сдвинутое положение. Заполняют, по меньшей мере, второе отделение (7), смежное с первым (6), пластмассой второго типа и охлаждают ее, после чего изделие удаляют из формы. Используя способ и форму по изобретениям, получают пластмассовое изделие неровной формы, содержащее, по меньшей мере, две смежные части (15, 16) из пластмасс разного типа и/или цвета и зону соединения, ограниченную двумя непрямолинейными линиями в проекции на плоскость поперечного сечения. Технический результат, который достигается при использовании способа и формы по изобретению, заключается в том, что для получения пластмассового изделия с неровными стенками используют форму для литья под давлением пластмассового изделия, состоящего, по меньшей мере, из двух сопряженных частей из пластмасс разного типа и/или цвета. 3 н. и 5 з.п. ф-лы, 9 ил.

Дирекция сайта "Промышленная Сибирь"
Россия, г.Омск, ул.Учебная, 199-Б, к.408А
Сайт открыт 01.11.2000
© 2000-2018 Промышленная Сибирь
Разработка дизайна сайта:
Дизайн-студия "RayStudio"