Промышленная Сибирь Ярмарка Сибири Промышленность СФО Электронные торги НОУ-ХАУ Электронные магазины Карта сайта
 
 

Поиск патентов

Как искать?
Реферат
Название
Публикация
Регистрационный номер
Имя заявителя
Имя изобретателя
Имя патентообладателя

    





Оформить заказ и задать интересующие Вас вопросы Вы можете напрямую c 6-00 до 14-30 по московскому времени кроме сб, вс. whatsapp 8-950-950-9888

На данной странице представлена ознакомительная часть выбранного Вами патента

Для получения более подробной информации о патенте (полное описание, формула изобретения и т.д.) Вам необходимо сделать заказ. Нажмите на «Корзину»


СПОСОБ И УСТРОЙСТВО ДЛЯ ЭКСТРУЗИОННОГО ГРАНУЛИРОВАНИЯ И ГРАНУЛЯТ, ПОЛУЧЕННЫЙ С ИХ ИСПОЛЬЗОВАНИЕМ

Номер публикации патента: 2457109

Вид документа: C2 
Страна публикации: RU 
Рег. номер заявки: 2009124112/05 
  Сделать заказПолучить полное описание патента

Редакция МПК: 
Основные коды МПК: B29B009/06   B29C047/12   B29K067/00    
Аналоги изобретения: US 5628947 А, 13.05.1997. JP 2001205627 А, 31.07.2001. US 6706396 В1, 16.03.2004. US 3544525 А, 01.12.1970. SU 1140972 А, 23.02.1985. SU 680627 А, 15.08.1979. 

Имя заявителя: АУТОМАТИК ПЛАСТИКС МАШИНЕРИ ГМБХ (DE),
БЮЛЕР АГ (CH) 
Изобретатели: БОЦОН Ярослав (DE)
ДОЛЛ Андреас (DE)
ФЕНХЕЛЬ Свен (DE)
КАЛБЕРТ Брент Аллан (CH)
ЭУСЕБИО Фернандо (CH)
МОРГАНТИ Франциска (CH) 
Патентообладатели: АУТОМАТИК ПЛАСТИКС МАШИНЕРИ ГМБХ (DE)
БЮЛЕР АГ (CH) 
Приоритетные данные: 27.11.2006 DE 102006055914.2
15.06.2007 DE 102007027543.0 

Реферат


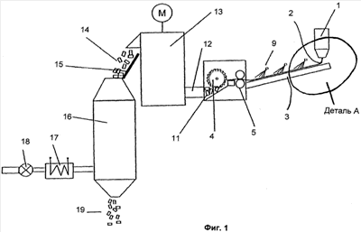
Группа изобретений относится к способу получения гранулята полимеров термопластичных полиэфиров или сополиэфиров из расплава полиэфира с использованием устройства для экструзионного гранулирования. Способ заключается в том, что расплав полиэфира подают в сопла и затем в виде жгутов направляют вытягивающими валиками по выпускному участку на гранулятор. При этом скорость Vab вытягивания жгутов регулируют при помощи вытягивающих валиков. Выход жгутов из сопел осуществляют со скоростью V aus выхода, составляющей по меньшей мере 100 м/мин. Причем отношение Vaus/f скорости Vaus выхода к площади f отверстия соответствующего сопла устанавливают таким образом, что выполняется условие Vaus/f30 м/(мин×мм2), а вышедшие из соответствующих сопел жгуты приводят в контакт с охлаждающей жидкостью. Устройство включает сопла, через которые в виде жгутов выходит расплав полиэфира, с выпускным каналом, по которому с подачей жидкости перемещаются жгуты. Также устройство содержит гранулятор и вытягивающие валики, которые тянут жгуты от сопел и по выпускному каналу подают в гранулятор. При этом диаметр d и/или длина 1 отверстий соответствующих сопел установлены таким образом, что отношение l/d удовлетворяет условию l/d1, предпочтительно условию l/d0,7, предпочтительнее условию l/d0,5, и еще более предпочтительно условию l/d=0,3. Достигаемый при этом технический результат заключается в предотвращении склеивания гранул, а также в удешевлении и упрощении способа получения гранулята. 2 н. и 30 з.п. ф-лы, 7 пр., 2 ил.

Дирекция сайта "Промышленная Сибирь"
Россия, г.Омск, ул.Учебная, 199-Б, к.408А
Сайт открыт 01.11.2000
© 2000-2018 Промышленная Сибирь
Разработка дизайна сайта:
Дизайн-студия "RayStudio"