|
На данной странице представлена ознакомительная часть выбранного Вами патента
Для получения более подробной информации о патенте (полное описание, формула изобретения и т.д.) Вам необходимо сделать заказ. Нажмите на «Корзину»
| КЛИНОВАЯ УДАРНО - ВОЛНОВАЯ ГАЗОДИНАМИЧЕСКАЯ УСТАНОВКА ДЛЯ ФОРМОВАНИЯ БЕТОНОВ |  |
Номер публикации патента: 2163543 |  |
| Редакция МПК: | 7 | | Основные коды МПК: | B28B001/10 | | Аналоги изобретения: | EP 0693351 A1, 24.01.1996. RU 2123898 C1, 27.12.1998. SU 1557522 A1, 15.04.1990. JP 63267510 A, 04.11.1988. RU 2020060 C1, 30.09.1994. |
| Имя заявителя: | Зеленов Иван Борисович | | Изобретатели: | Бахтин Б.И. Зеленов И.Б. Зеленов К.И. Ивашов А.И. Усов Б.А. | | Патентообладатели: | Бахтин Борис Иванович Зеленов Константин Иванович Ивашов Александр Иванович |
Реферат |  |
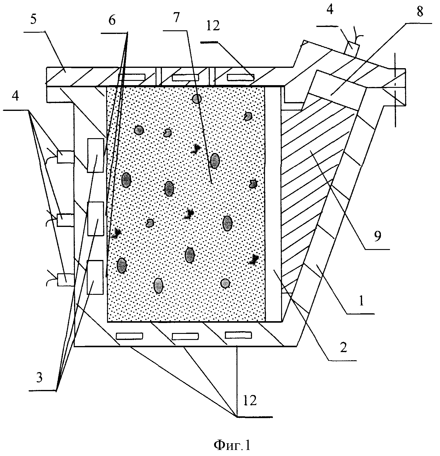
Клиновая ударно-волновая газодинамическая установка для формования бетонов относится к технологии производства строительных материалов, в основном формирования структуры бетонов и растворов на минеральных вяжущих веществах для условий заводского производства. Устройство состоит из корпуса со стенками и крышкой и клинового элемента. В боковых и/или донных стенках и над клиновым элементом установлены детонационные камеры. Одна из стенок выполнена подвижной с примыкающей к ней через клиновой элемент неподвижной наклонной стенкой корпуса формы. Детонационная камера над клиновым элементом выполнена с величиной продольного сечения, равного Sk = (Pд/Pср)[Sб(tgϕ+fтр)], где Pд - амплитуда динамического давления, действующего на бетонную смесь, Pср - среднее давление в детонационной камере после прохождения волны детонации; Sб - площадь поверхности контакта бетонной смеси с подвижной боковой стенкой; ϕ - угол конусности клинового элемента; fтр - коэффициент трения скольжения при перемещении клинового элемента. Устройство обеспечивает комплекс импульсных воздействий и статических давлений при формовании бетонных и железобетонных изделий и массивов преимущественно из жестких бетонных смесей. 3 з.п.ф-лы., 2 ил.
|