Промышленная Сибирь Ярмарка Сибири Промышленность СФО Электронные торги НОУ-ХАУ Электронные магазины Карта сайта
 
 

Поиск патентов

Как искать?
Реферат
Название
Публикация
Регистрационный номер
Имя заявителя
Имя изобретателя
Имя патентообладателя

    





Оформить заказ и задать интересующие Вас вопросы Вы можете напрямую c 6-00 до 14-30 по московскому времени кроме сб, вс. whatsapp 8-950-950-9888

На данной странице представлена ознакомительная часть выбранного Вами патента

Для получения более подробной информации о патенте (полное описание, формула изобретения и т.д.) Вам необходимо сделать заказ. Нажмите на «Корзину»


КОМБИНИРОВАННОЕ УСТРОЙСТВО ДЛЯ БРИТЬЯ И ПОДРАВНИВАНИЯ

Номер публикации патента: 2471611

Вид документа: C2 
Страна публикации: RU 
Рег. номер заявки: 2011103017/02 
  Сделать заказПолучить полное описание патента

Редакция МПК: 
Основные коды МПК: B26B019/38    
Аналоги изобретения: WO 2007/130680 А1, 15.11.2007. US 2008/010833 А1, 17.01.2008. СА 2112561 А1, 27.02.1998. ЕР 1834605 А, 19.09.2007. DE 102007005853 А1, 07.08.2008. US 2003/226258 А1, 17.01.2008. 

Имя заявителя: ДЗЕ ЖИЛЛЕТТ КОМПАНИ (US) 
Изобретатели: МАЙХЕЛЬ Михаиль (DE)
ШУСЛАР Маркус (DE)
КЛЮГ Ральф (DE)
ПЕРЕЗ ЛОПЕЗ Цирило Джавьер (DE)
ЛАРШАЙД Андреас (DE) 
Патентообладатели: ДЗЕ ЖИЛЛЕТТ КОМПАНИ (US) 
Приоритетные данные: 18.08.2008 US 61/089,641 

Реферат


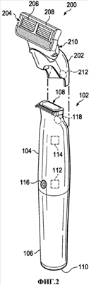
Комбинированное электрическое устройство для бритья и подравнивания содержит рукоятку 102, имеющую верхний конец 104 и нижний конец 106, триммер 108, расположенный вблизи верхнего конца, насадку 200 для влажного бритья, содержащую соединительную структуру 202, устанавливаемую поверх триммера на верхний конец, и лезвийный картридж 204, сопряженный с соединительной структурой, первое электрическое устройство 112, расположенное в рукоятке и выполненное с возможностью подачи питания на триммер, и второе электрическое устройство 114, выполненное с возможностью подачи питания на насадку для бритья. Обеспечивается возможность использования множества инструментов и сочетание устройства для бритья и подравнивания волос. 3 н. и 17 з.п. ф-лы, 5 ил.

Дирекция сайта "Промышленная Сибирь"
Россия, г.Омск, ул.Учебная, 199-Б, к.408А
Сайт открыт 01.11.2000
© 2000-2018 Промышленная Сибирь
Разработка дизайна сайта:
Дизайн-студия "RayStudio"