Промышленная Сибирь Ярмарка Сибири Промышленность СФО Электронные торги НОУ-ХАУ Электронные магазины Карта сайта
 
 

Поиск патентов

Как искать?
Реферат
Название
Публикация
Регистрационный номер
Имя заявителя
Имя изобретателя
Имя патентообладателя

    





Оформить заказ и задать интересующие Вас вопросы Вы можете напрямую c 6-00 до 14-30 по московскому времени кроме сб, вс. whatsapp 8-950-950-9888

На данной странице представлена ознакомительная часть выбранного Вами патента

Для получения более подробной информации о патенте (полное описание, формула изобретения и т.д.) Вам необходимо сделать заказ. Нажмите на «Корзину»


УЗЕЛ ЭЛЕКТРИЧЕСКОЙ БРИТВЫ

Номер публикации патента: 2366566

Вид документа: C2 
Страна публикации: RU 
Рег. номер заявки: 2007129652/02 
  Сделать заказПолучить полное описание патента

Редакция МПК: 
Основные коды МПК: B26B019/04    
Аналоги изобретения: ЕР 1449627 А1, 25.08.2004. ЕР 1454720 A1, 08.09.2004. US 3436822 A, 08.04.1969. SU 859144 A1, 30.08.1981. RU 2122491 C1, 27.11.1998. 

Имя заявителя: ДЗЕ ЖИЛЛЕТТ КОМПАНИ (US) 
Изобретатели: РОЙЛ Теренс Гордон (GB)
БЛИТ Люк (GB) 
Патентообладатели: ДЗЕ ЖИЛЛЕТТ КОМПАНИ (US) 
Приоритетные данные: 11.02.2005 GB 0502936.8 

Реферат


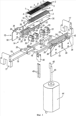
Узел электрической бритвы содержит гибкие внешнюю и внутреннюю сетки (1, 2), выполненные на деформируемой опорной конструкции (14), обеспечивающей возможность сеткам изгибаться и следовать вогнутым или выпуклым изгибам по их длине. Опорная конструкция имеет две подвески (22), поддерживающие сетки вдоль соответствующей стороны кромки, и каждая подвеска (22) содержит несколько опорных элементов (24), взаимосвязанных при помощи петель (25), при этом опорная конструкция (14) находится в скользящем взаимодействии с сетками. Деформация подвесок ограничивается направляющими планками (18), которые расположены смежно с подвесками. Сетки поджимаются друг к другу пружинными элементами (30), а внутренняя сетка (2) приводится в возвратно-поступательное перемещение приводным приспособлением, включающим гибкую пластину (36), расположенную между пружинными элементами (30) и внутренней сеткой (2). 26 з.п. ф-лы, 6 ил.

Дирекция сайта "Промышленная Сибирь"
Россия, г.Омск, ул.Учебная, 199-Б, к.408А
Сайт открыт 01.11.2000
© 2000-2018 Промышленная Сибирь
Разработка дизайна сайта:
Дизайн-студия "RayStudio"