Промышленная Сибирь Ярмарка Сибири Промышленность СФО Электронные торги НОУ-ХАУ Электронные магазины Карта сайта
 
 

Поиск патентов

Как искать?
Реферат
Название
Публикация
Регистрационный номер
Имя заявителя
Имя изобретателя
Имя патентообладателя

    





Оформить заказ и задать интересующие Вас вопросы Вы можете напрямую c 6-00 до 14-30 по московскому времени кроме сб, вс. whatsapp 8-950-950-9888

На данной странице представлена ознакомительная часть выбранного Вами патента

Для получения более подробной информации о патенте (полное описание, формула изобретения и т.д.) Вам необходимо сделать заказ. Нажмите на «Корзину»


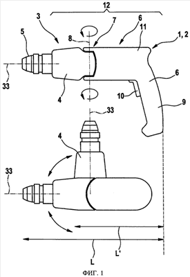
ЭЛЕКТРИЧЕСКАЯ РУЧНАЯ МАШИНА ДЛЯ СВЕРЛЕНИЯ В УДАРНО - ВРАЩАТЕЛЬНОМ РЕЖИМЕ ИЛИ ДОЛБЛЕНИЯ

Номер публикации патента: 2455144

Вид документа: C2 
Страна публикации: RU 
Рег. номер заявки: 2009128742/02 
  Сделать заказПолучить полное описание патента

Редакция МПК: 
Основные коды МПК: B25D011/00   B25F005/02    
Аналоги изобретения: RU 2026980 С1, 20.01.1995. DE 4116343 А1, 11.19.1992. RU 2272118 С1, 20.03.2006. US 2815834 А, 10.12.1957. WO 2006124288 А, 23.11.2006. RU 2166411 С1, 10.05.2001. 

Имя заявителя: РОБЕРТ БОШ ГМБХ (DE) 
Изобретатели: ФУКС Рудольф (DE) 
Патентообладатели: РОБЕРТ БОШ ГМБХ (DE) 
Приоритетные данные: 27.12.2006 DE 102006061625.1 

Реферат


Изобретение относится к электрическим ручным машинам для сверления в ударно-вращательном режиме или долбления. Электрическая ручная машина содержит электрический приводной двигатель, соединяемый передачей с рабочим шпинделем и/или ударным механизмом. В ручной машине средняя ось (34) вала (18) передачи (13) или средняя ось (35) выходного вала (15) приводного двигателя образует ось (8) поворота, вокруг которой приводной двигатель установлен с возможностью отклонения для уменьшения габаритной длины (L) электрической ручной машины (2). Использование изобретения позволяет уменьшить габаритную длину электрической ручной машины. 9 з.п. ф-лы, 3 ил.

Дирекция сайта "Промышленная Сибирь"
Россия, г.Омск, ул.Учебная, 199-Б, к.408А
Сайт открыт 01.11.2000
© 2000-2018 Промышленная Сибирь
Разработка дизайна сайта:
Дизайн-студия "RayStudio"