Промышленная Сибирь Ярмарка Сибири Промышленность СФО Электронные торги НОУ-ХАУ Электронные магазины Карта сайта
 
 

Поиск патентов

Как искать?
Реферат
Название
Публикация
Регистрационный номер
Имя заявителя
Имя изобретателя
Имя патентообладателя

    





Оформить заказ и задать интересующие Вас вопросы Вы можете напрямую c 6-00 до 14-30 по московскому времени кроме сб, вс. whatsapp 8-950-950-9888

На данной странице представлена ознакомительная часть выбранного Вами патента

Для получения более подробной информации о патенте (полное описание, формула изобретения и т.д.) Вам необходимо сделать заказ. Нажмите на «Корзину»


АВТОМАТИЧЕСКОЕ СБОРОЧНОЕ ОБОРУДОВАНИЕ

Номер публикации патента: 2421316

Вид документа: C2 
Страна публикации: RU 
Рег. номер заявки: 2009113085/02 
  Сделать заказПолучить полное описание патента

Редакция МПК: 
Основные коды МПК: B23P021/00    
Аналоги изобретения: JP 2002066849, 05.03.2002. SU 1346384 A1, 23.10.1987. SU 1296350 A1, 15.03.1987. RU 2089319 C1, 10.09.1997. SU 532437, 25.10.1976. 

Имя заявителя: Беллавин Михаил Сергеевич (RU) 
Изобретатели: Беллавин Михаил Сергеевич (RU) 
Патентообладатели: Беллавин Михаил Сергеевич (RU) 

Реферат


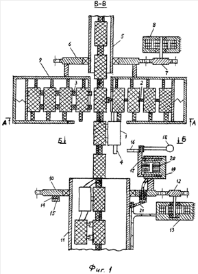
Изобретение относится к оборудованию для сборки. Автоматическое сборочное оборудование содержит магазины, подпружиненный ловитель и состоящую из четырех последовательно расположенных элементов базовую цепочку, конец которой прикреплен к тележке с электроприводом. Базовая цепочка выполнена из элементов, повернутых относительно друг друга по часовой стрелке и против нее, и размещена в трубках, на которых установлены имеющие электропривод зубчатые передачи, одна из которых соединена с четырьмя магазинами, расположенными перпендикулярно друг другу, а другая - с закрепляющим ловителем. Обеспечивается уменьшение трудоемкости сборки. 4 ил.

Дирекция сайта "Промышленная Сибирь"
Россия, г.Омск, ул.Учебная, 199-Б, к.408А
Сайт открыт 01.11.2000
© 2000-2018 Промышленная Сибирь
Разработка дизайна сайта:
Дизайн-студия "RayStudio"