|
На данной странице представлена ознакомительная часть выбранного Вами патента
Для получения более подробной информации о патенте (полное описание, формула изобретения и т.д.) Вам необходимо сделать заказ. Нажмите на «Корзину»
| СПОСОБ СВАРКИ |  |
Номер публикации патента: 2174067 |  |
| Редакция МПК: | 7 | | Основные коды МПК: | B23K028/02 B23K015/00 | | Аналоги изобретения: | RU 2111840 С1, 27.05.1998. RU 2118244 С1, 27.08.1998. RU 2053312 C1, 27.01.1996. US 5247155, 21.09.1993. US 5013886, 07.05.1991. |
| Имя заявителя: | Московский энергетический институт (технический университет) | | Изобретатели: | Драгунов В.К. Чепурин М.В. | | Патентообладатели: | Московский энергетический институт (технический университет) |
Реферат |  |
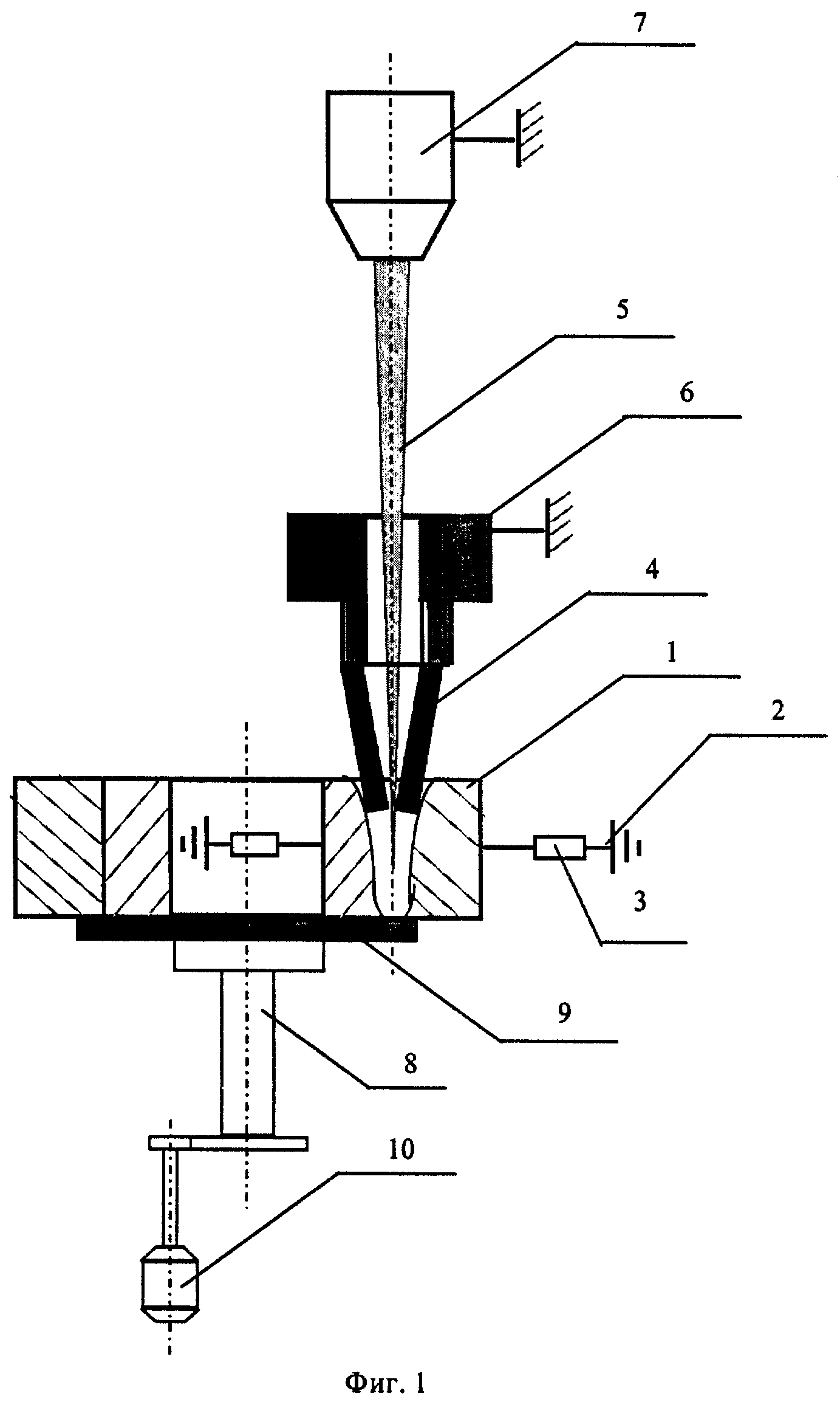
Изобретение относится к области машиностроения, в частности к способу сварки, и может найти применение при производстве различных сварных конструкций. Осуществляют одновременное проплавление стыка свариваемых деталей электронным пучком и соосно расположенным с ним дуговым разрядом. Дуговой разряд формируют посредством полого катода. Электронный пучок направляют с лицевой стороны стыка через плазму дугового разряда и создают магнитное поле дугового разряда одинакового направления с магнитным полем электронного пучка. Формируют заданную геометрию электронного пучка и канал проплавления, в который подводят энергию дугового разряда. Электронный пучок отклоняют по толщине деталей в требуемом направлении на заданную величину. За счет того, что получают проплавление кинжальной формы с малым объемом литого металла, уменьшаются сварочные деформации и напряжения и, как следствие, расширяется номенклатура свариваемых материалов. 3 ил.
|