|
На данной странице представлена ознакомительная часть выбранного Вами патента
Для получения более подробной информации о патенте (полное описание, формула изобретения и т.д.) Вам необходимо сделать заказ. Нажмите на «Корзину»
| ОДНОПОСТОВАЯ УСТАНОВКА ДЛЯ ДИФФУЗИОННОЙ СВАРКИ В ВАКУУМЕ КОРОТКИХ ТРУБ ВНАХЛЕСТКУ |  |
Номер публикации патента: 2183541 |  |
| Редакция МПК: | 7 | | Основные коды МПК: | B23K020/26 B23K020/14 | | Аналоги изобретения: | КАЗАКОВ Н.Ф. Диффузионная сварка материалов. - М.: Машиностроение, 1976, с. 90-91. SU 1324804 A1, 23.07.1987. RU 2164197 C1, 20.03.2001. EP 0216968 A1, 08.04.1987. US 5165591, 24.11.1992. |
| Имя заявителя: | Государственное унитарное предприятие "Научно-исследовательский и конструкторский институт энерготехники" | | Изобретатели: | Аден В.Г. Семенов А.Н. Тюрин В.Н. Шевелев Г.Н. | | Патентообладатели: | Государственное унитарное предприятие "Научно-исследовательский и конструкторский институт энерготехники" |
Реферат |  |
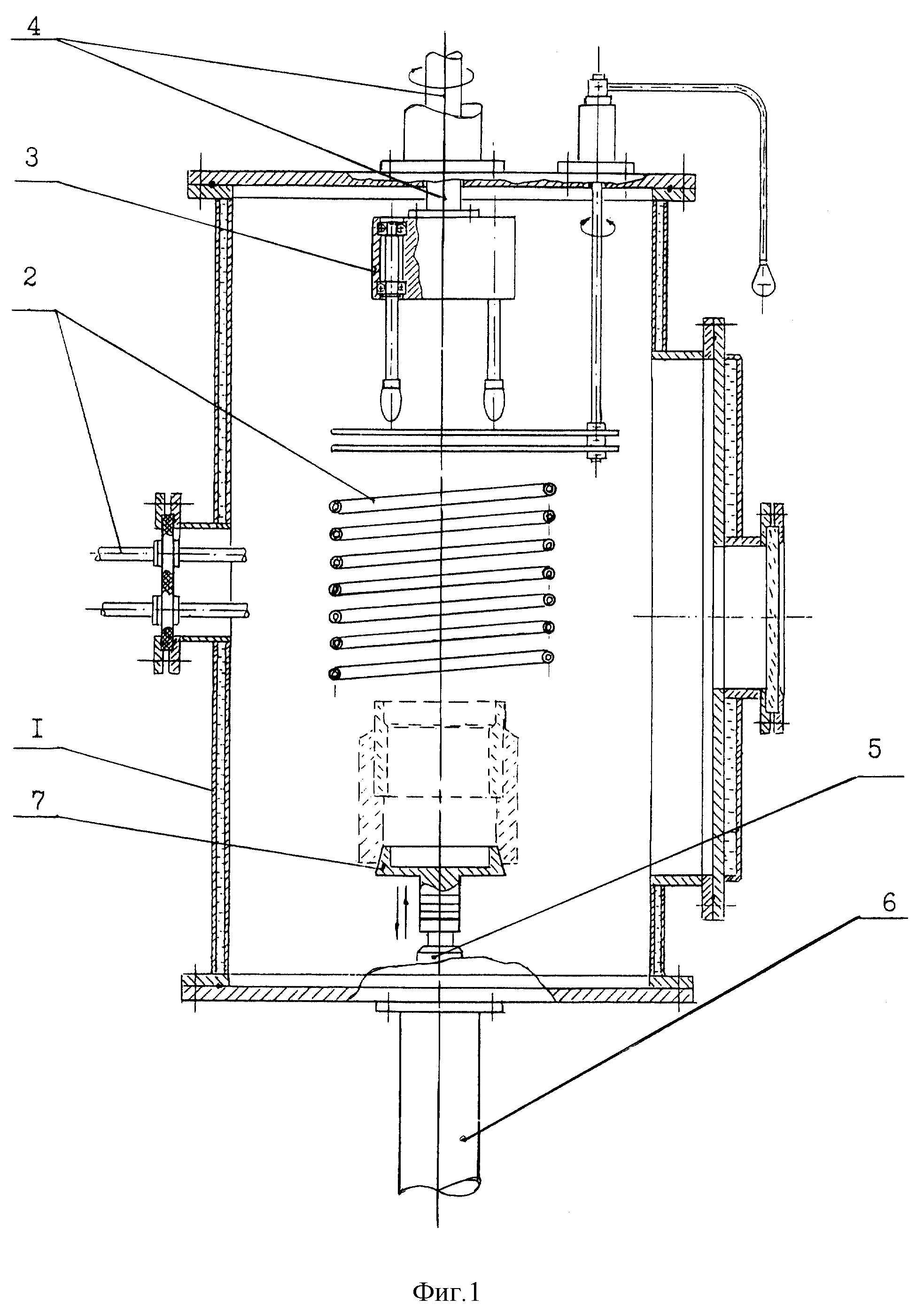
Установка предназначена для сварки коротких труб внахлестку, которые практически не поддаются сварке плавлением, такие как титан-сталь, цирконий-сталь и т.д. Сокращение времени нагрева и охлаждения заготовки и как следствие повышение производительности установки и снижение общего потребления электроэнергии достигается тем, что опора, к которой во время сварки силовым штоком поджимается свариваемая заготовка, выполнена в виде роликового раскатника. Над нагревателем в верхней части камеры соосно силовому штоку установлен приводной вал. Привод силового штока размещен под камерой и имеет рабочий ход до верхнего торца нагревателя. На конце силового штока закреплена сменная подставка для установки и крепления свариваемой заготовки. Между роликовым раскатником и нагревателем установлен смещаемый в сторону тепловой экран. Роликовый раскатник выполнен с несколькими раскатными роликами, закрепленными на концах длинных штанг, оси которых расположены равномерно по окружности относительно оси вращения раскатника. Нагреватель установлен над дном вакуумной камеры на высоте, превышающей высоту свариваемой заготовки. 6 з.п. ф-лы, 3 ил.
|