Промышленная Сибирь Ярмарка Сибири Промышленность СФО Электронные торги НОУ-ХАУ Электронные магазины Карта сайта
 
 

Поиск патентов

Как искать?
Реферат
Название
Публикация
Регистрационный номер
Имя заявителя
Имя изобретателя
Имя патентообладателя

    





Оформить заказ и задать интересующие Вас вопросы Вы можете напрямую c 6-00 до 14-30 по московскому времени кроме сб, вс. whatsapp 8-950-950-9888

На данной странице представлена ознакомительная часть выбранного Вами патента

Для получения более подробной информации о патенте (полное описание, формула изобретения и т.д.) Вам необходимо сделать заказ. Нажмите на «Корзину»


УСТРОЙСТВО И СПОСОБ ЗАМЫКАНИЯ КОНТАКТОВ СВАРОЧНОЙ ПРОВОЛОКИ И ТОКОПОДВОДЯЩИЙ ЗАЖИМ

Номер публикации патента: 2477677

Вид документа: C2 
Страна публикации: RU 
Рег. номер заявки: 2011126270/02 
  Сделать заказПолучить полное описание патента

Редакция МПК: 
Основные коды МПК: B23K009/26   B23K009/32    
Аналоги изобретения: US 200835623 A1, 14.02.2008. SU 1017449 A, 15.05.1983. UA 016007 A, 29.08.1997. SU 1082578 A, 30.03.1984. RU 2002106475 A, 27.09.2003. US 6559416 A, 06.05.2003. Словарь-справочник по сварке. Под ред. К.К.ХРЕНОВА. - Киев: Наукова Думка, 1974, с.130-131, 143, 144. 

Имя заявителя: ФРОНИУС ИНТЕРНЭШНЛ ГМБХ (AT) 
Изобретатели: ГРОШАУЕР Вольфганг (AT)
УБИНГЕР Манфред (AT)
ЛЕОНХАРТСБЕРГЕР Андреас (AT) 
Патентообладатели: ФРОНИУС ИНТЕРНЭШНЛ ГМБХ (AT) 
Приоритетные данные: 27.11.2008 AT A1852/2008
26.11.2009 AT A1880/2009 

Реферат


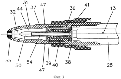
Изобретение относится к устройству, токоподводящему зажиму (31) и способу для подвода электрической энергии к сварочной проволоке (13) в сварочной горелке (10). Устройство имеет, по меньшей мере, два токоподводящих зажима (31) с зоной (32) контактирования для замыкания контактов сварочной проволоки (13). Для создания по возможности постоянного и непрерывного замыкания контактов сварочной проволоки в течение срока службы устройства токоподводящие зажимы (31) имеют зону (48) удержания, расположенную напротив зоны (32) контактирования, и установлены во втулке (37) с возможностью перемещения вокруг оси (43) вращения. Втулка (37) закреплена на наконечнике (38) сварочной горелки, объединенном с нажимным механизмом (36), выполненным с возможностью приложения силы (33) сжатия к токоподводящим зажимам (31). Втулка (37) имеет удерживающее устройство (42). На каждом из токоподводящих зажимов (31) со стороны концов оси (43) вращения имеются два участка (47) контактирования с удерживающим устройством (42) втулки (37). На торцевой поверхности (45) зоны (48) удержания каждого токоподводящего зажима (31) выполнен выступ (46), расположенный в плоскости, параллельной оси (43) вращения. Нажимной механизм (36) выполнен с возможностью приложения в осевом направлении силы (33) сжатия, которая посредством силы реакции (34) удерживающего устройства (42) на токоподводящие зажимы (31) преобразуется в радиально действующую силу контактного нажатия (35). 6 н. и 20 з.п. ф-лы, 16 ил.

Дирекция сайта "Промышленная Сибирь"
Россия, г.Омск, ул.Учебная, 199-Б, к.408А
Сайт открыт 01.11.2000
© 2000-2018 Промышленная Сибирь
Разработка дизайна сайта:
Дизайн-студия "RayStudio"