|
На данной странице представлена ознакомительная часть выбранного Вами патента
Для получения более подробной информации о патенте (полное описание, формула изобретения и т.д.) Вам необходимо сделать заказ. Нажмите на «Корзину»
| УСТРОЙСТВО РЕГУЛИРОВАНИЯ ДАВЛЕНИЯ ГОРЮЧИХ ГАЗОВ ДЛЯ ГАЗОПЛАМЕННОЙ ОБРАБОТКИ МЕТАЛЛОВ |  |
Номер публикации патента: 2167034 |  |
| Редакция МПК: | 7 | | Основные коды МПК: | B23K005/22 | | Аналоги изобретения: | ТУ 3645-032-00220531-976. Регистр. Госстандарта 27.02.1997, в реестр № 200/014386. RU 2083335 C1, 10.07.1997. RU 2026333 C1, 09.01.1995. RU 2044151 C1, 20.09.1995. DE 2224588 B2, 21.04.1977. GB 1318134, 23.05.1973. US 3567132, 02.05.1971. US 3666391, 27.04.1970. US 3741456, 26.06.1973. EP 0486796 A1, 27.05.1992. |
| Имя заявителя: | Закрытое акционерное общество "Московского инновационного дома автогенного сварочного оборудования и технологий" | | Изобретатели: | Дейкун В.К. | | Патентообладатели: | Закрытое акционерное общество "Московского инновационного дома автогенного сварочного оборудования и технологий" |
Реферат |  |
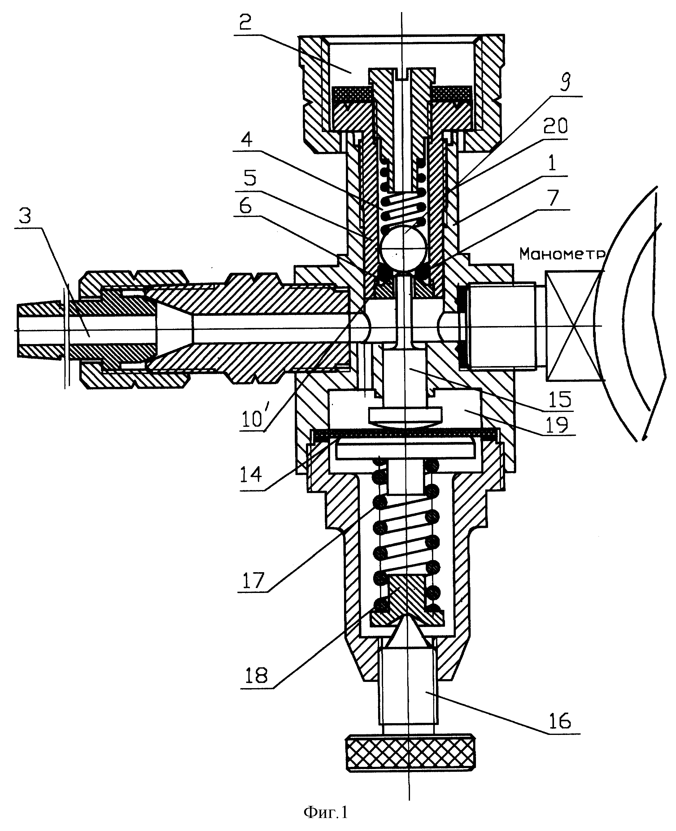
Изобретение относится к регуляторам давления горючих газов и может быть использовано в качестве вспомогательного оборудования для регулирования давления пропана в процессе газопламенной обработки металлов. Редуцирующий узел выполнен в виде гильзы, связанной с корпусом, седла, запорного органа, установленного в отверстии гильзы соосно с седлом и с возможностью взаимодействия с ним, и уплотнительного кольца. С одной стороны диафрагмы установлен с возможностью взаимодействия с ней через упор и пружину регулировочный винт, с ее другой стороны имеется полость, сообщенная с выходным отверстием. Толкатель установлен между запорным органом и диафрагмой и соосно с ними. Седло выполнено в виде резьбовой втулки с кольцевой выемкой и установлено в гильзе. Гильза выполнена с коническим буртом, образующим с кольцевой выемкой втулки паз. В пазу размещено уплотнительное кольцо, выполненное резиновым и с круглым сечением для обеспечения точечного контакта с запорным органом, который выполнен шаровым. Редуцирующий узел выполнен съемным и расположен соосно с входным отверстием. Гильза связана с корпусом резьбовым соединением. Такое выполнение позволяет повысить точность поддержания давления в 1,3 раза при одновременном снижении усилия на уплотнении и снижении давления "стоп-режима" в 1,5-2 раза, а также снизить стоимость устройства на 50% и уменьшить габариты и вес в 1,5-2 раза. 1 з.п. ф-лы, 2 ил.
|