Промышленная Сибирь Ярмарка Сибири Промышленность СФО Электронные торги НОУ-ХАУ Электронные магазины Карта сайта
 
 

Поиск патентов

Как искать?
Реферат
Название
Публикация
Регистрационный номер
Имя заявителя
Имя изобретателя
Имя патентообладателя

    





Оформить заказ и задать интересующие Вас вопросы Вы можете напрямую c 6-00 до 14-30 по московскому времени кроме сб, вс. whatsapp 8-950-950-9888

На данной странице представлена ознакомительная часть выбранного Вами патента

Для получения более подробной информации о патенте (полное описание, формула изобретения и т.д.) Вам необходимо сделать заказ. Нажмите на «Корзину»


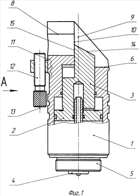
ПЕРЕКУСЫВАТЕЛЬ ДВЕРНЫХ ПЕТЕЛЬ

Номер публикации патента: 2421304

Вид документа: C2 
Страна публикации: RU 
Рег. номер заявки: 2009131231/02 
  Сделать заказПолучить полное описание патента

Редакция МПК: 
Основные коды МПК: B23D029/00   B23D017/06    
Аналоги изобретения: RU 2292995 C2, 10.02.2007. RU 2047426 C1, 10.11.1995. WO 9301030 A1, 21.01.1993. GB 1056769 A, 25.01.1967. 

Имя заявителя: Изюмов Василий Дмитриевич (RU),
Панюхно Геннадий Анатольевич (RU) 
Изобретатели: Изюмов Василий Дмитриевич (RU)
Панюхно Геннадий Анатольевич (RU) 
Патентообладатели: Изюмов Василий Дмитриевич (RU)
Панюхно Геннадий Анатольевич (RU) 

Реферат


Изобретение относится к гидравлическим инструментам и может быть использовано для перекусывания прутков оконных решеток и дужек навесных замков. Перекусыватель содержит корпус в виде цилиндрической втулки, внутри которой с возможностью продольного перемещения установлены поршень со штоком, выполненной с гидравлическим разъемом и присоединительным элементом для подключения к источнику давления, расположенными на торце корпусе со стороны установки поршня, и с противоположным торцом с фасонной поверхностью. На боковой поверхности корпуса со стороны фасонной поверхности расположен фиксирующий элемент. Торец корпуса с фасонной поверхностью выполнен в виде охватывающей поверхности с образующей, перпендикулярной геометрической оси корпуса, и с внутренним торцом в виде плоскости, параллельной геометрической оси корпуса. Исключается разворот инструмента относительно разрушаемой поверхности, уменьшается величина прилагаемого усилия. Конструкция является универсальной, удобна в эксплуатации, позволяет перекусывать как левые, так и правые петли одним инструментом. 2 з.п. ф-лы, 2 ил.

Дирекция сайта "Промышленная Сибирь"
Россия, г.Омск, ул.Учебная, 199-Б, к.408А
Сайт открыт 01.11.2000
© 2000-2018 Промышленная Сибирь
Разработка дизайна сайта:
Дизайн-студия "RayStudio"