Промышленная Сибирь Ярмарка Сибири Промышленность СФО Электронные торги НОУ-ХАУ Электронные магазины Карта сайта
 
 

Поиск патентов

Как искать?
Реферат
Название
Публикация
Регистрационный номер
Имя заявителя
Имя изобретателя
Имя патентообладателя

    





Оформить заказ и задать интересующие Вас вопросы Вы можете напрямую c 6-00 до 14-30 по московскому времени кроме сб, вс. whatsapp 8-950-950-9888

На данной странице представлена ознакомительная часть выбранного Вами патента

Для получения более подробной информации о патенте (полное описание, формула изобретения и т.д.) Вам необходимо сделать заказ. Нажмите на «Корзину»


УСТРОЙСТВО ДЛЯ ВЫРЕЗАНИЯ ОТВЕРСТИЯ В ДЕЙСТВУЮЩЕМ ТРУБОПРОВОДЕ

Номер публикации патента: 2380199

Вид документа: C1 
Страна публикации: RU 
Рег. номер заявки: 2008123014/02 
  Сделать заказПолучить полное описание патента

Редакция МПК: 
Основные коды МПК: B23B041/08   F16L041/04    
Аналоги изобретения: RU 2313028 С1, 20.12.2007. SU 1535678 А1, 15.01.1990. RU 2148478 С1,10.05.2000. RU 2229961 С1, 10.06.2004. GB 1366521 А, 11.09.1974. 

Имя заявителя: Открытое акционерное общество "Акционерная компания по транспорту нефти "Транснефть" (RU),
Общество с ограниченной ответственностью "Восточно-Сибирские магистральные нефтепроводы" (ООО "Востокнефтепровод") (RU),
Открытое акционерное общество "Верхневолжские магистральные нефтепроводы" (ОАО "Верхневолжскнефтепровод") (RU) 
Изобретатели: Иванов Игорь Олегович (RU)
Лисин Юрий Викторович (RU)
Демин Анатолий Митрофанович (RU)
Ярыгин Виктор Николаевич (RU)
Пахомов Сергей Анатольевич (RU)
Шляхтич Святослав Иванович (RU) 
Патентообладатели: Открытое акционерное общество "Акционерная компания по транспорту нефти "Транснефть" (RU)
Общество с ограниченной ответственностью "Восточно-Сибирские магистральные нефтепроводы" (ООО "Востокнефтепровод") (RU)
Открытое акционерное общество "Верхневолжские магистральные нефтепроводы" (ОАО "Верхневолжскнефтепровод") (RU) 

Реферат


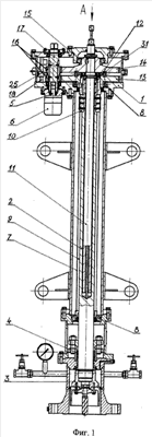
Изобретение относится к устройствам, предназначенным для холодной вырезки отверстий в действующем нефтепроводе с целью последующего присоединения к нефтепроводу ответвлений. На конце полого шпинделя установлен режущий инструмент. Внутри шпинделя проходит винт, а снаружи - гильза. Гайка навинчена на конец винта, противоположный режущему инструменту, и соединена со шпинделем. Шпонка для соединения гильзы и шпинделя неподвижно установлена на шпинделе. Первое зубчатое колесо неподвижно соединено с гильзой, а второе зубчатое колесо - с винтом, которые имеют неравное количество зубьев. Две шестерни взаимодействуют с зубчатыми колесами и установлены на валу, кинематически соединенном с валом двигателя. Две стойки и неподвижная ось параллельны между собой. На неподвижную ось посажены кулачковая муфта и шестерня с возможностью углового перемещения. Шестерня имеет кулачки и взаимодействует с кулачками муфты и зацеплена с первым зубчатым колесом. Плечи рычага соединены с каретками. Одна из них соединена с блоком шестерен, а другая - с кулачковой муфтой. Рычаг перемещает блок шестерен и кулачковую муфту до разъединения с первым зубчатым колесом. В результате обеспечивается уменьшение числа кинематических пар и повышение жесткости передачи крутящего момента от вала двигателя. 3 з.п. ф-лы, 5 ил.

Дирекция сайта "Промышленная Сибирь"
Россия, г.Омск, ул.Учебная, 199-Б, к.408А
Сайт открыт 01.11.2000
© 2000-2018 Промышленная Сибирь
Разработка дизайна сайта:
Дизайн-студия "RayStudio"