Промышленная Сибирь Ярмарка Сибири Промышленность СФО Электронные торги НОУ-ХАУ Электронные магазины Карта сайта
 
 

Поиск патентов

Как искать?
Реферат
Название
Публикация
Регистрационный номер
Имя заявителя
Имя изобретателя
Имя патентообладателя

    





Оформить заказ и задать интересующие Вас вопросы Вы можете напрямую c 6-00 до 14-30 по московскому времени кроме сб, вс. whatsapp 8-950-950-9888

На данной странице представлена ознакомительная часть выбранного Вами патента

Для получения более подробной информации о патенте (полное описание, формула изобретения и т.д.) Вам необходимо сделать заказ. Нажмите на «Корзину»


СПОСОБ ПЕРЕРАБОТКИ ОТХОДОВ МАГНИТОВ

Номер публикации патента: 2446497

Вид документа: C1 
Страна публикации: RU 
Рег. номер заявки: 2010138553/07 
  Сделать заказПолучить полное описание патента

Редакция МПК: 
Основные коды МПК: H01F041/02   B22F003/24   B22F008/00   B22F009/04    
Аналоги изобретения: WO 2007102391 A1, 13.09.2007. RU 2286230 С1, 27.10.2006. RU 2179764 С2, 20.02.2002. SU 1394557 A1, 20.06.1999. US 6149861 A, 21.11.2000. CN 1269587 A, 11.10.2000. JP 6340902 A, 13.12.1994. 

Имя заявителя: УЛВАК, ИНК. (JP) 
Изобретатели: НАГАТА Хироси (JP)
СИНГАКИ Йосинори (JP) 
Патентообладатели: УЛВАК, ИНК. (JP) 
Приоритетные данные: 20.02.2008 JP 2008-039299 

Реферат


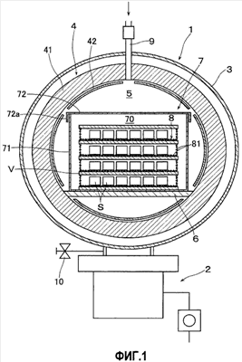
Изобретение относится к способу переработки отходов магнитов, преимущественно на основе железа-бора-редкоземельного элемента, в котором ранее спеченные магниты были уже использованы или отбракованы в процессе производства. Способ имеет следующие этапы: измельчение регенерируемых отходов магнитов на основе железо-бор-редкоземельного элемента с получением порошка из отходов; получение спеченной заготовки способом порошковой металлургии; обработку спеченной заготовки. Обработка включает этапы нагревания спеченной заготовки, размещенной в камере для обработки; испарения материала с испаряющимся металлом, содержащим, по меньшей мере, один элемент из Dy и Tb, при этом материал с испаряющимся металлом размещается в той же самой или другой камере для обработки; присоединения атомов металла, испаренного на стадии испарения, к поверхности спеченного магнита при регулировании количества подаваемых атомов испаренного металла, и диффузии присоединенных атомов металла в межзеренные области и/или межзеренную фазу спеченной заготовки. Возможность повторного использования редкоземельных элементов, содержащихся в смеси в отходах магнитов, перед их повторной переработкой, при снижении затрат и производственного оборудования, является техническим результатом изобретения. 4 з.п. ф-лы, 4 ил., 1 пр.

Дирекция сайта "Промышленная Сибирь"
Россия, г.Омск, ул.Учебная, 199-Б, к.408А
Сайт открыт 01.11.2000
© 2000-2018 Промышленная Сибирь
Разработка дизайна сайта:
Дизайн-студия "RayStudio"