Промышленная Сибирь Ярмарка Сибири Промышленность СФО Электронные торги НОУ-ХАУ Электронные магазины Карта сайта
 
 

Поиск патентов

Как искать?
Реферат
Название
Публикация
Регистрационный номер
Имя заявителя
Имя изобретателя
Имя патентообладателя

    





Оформить заказ и задать интересующие Вас вопросы Вы можете напрямую c 6-00 до 14-30 по московскому времени кроме сб, вс. whatsapp 8-950-950-9888

На данной странице представлена ознакомительная часть выбранного Вами патента

Для получения более подробной информации о патенте (полное описание, формула изобретения и т.д.) Вам необходимо сделать заказ. Нажмите на «Корзину»


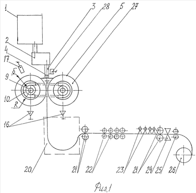
УСТАНОВКА ДЛЯ ПОЛУЧЕНИЯ НЕПРЕРЫВНОЙ МЕТАЛЛИЧЕСКОЙ ЛЕНТЫ

Номер публикации патента: 2426620

Вид документа: C2 
Страна публикации: RU 
Рег. номер заявки: 2009140877/02 
  Сделать заказПолучить полное описание патента

Редакция МПК: 
Основные коды МПК: B22D011/06   B22D011/18    
Аналоги изобретения: СОСИНСКИ Д.ДЖ. Процесс Castrip - последние достижения на промышленной установке завода Nucor steel. - Металлургия, декабрь 2008 г., 12, с.43-46. WO 2005/035169 А, 21.04.2005. SU 1424951 A1, 23.09.1988. RU 2026137 C1, 09.01.1995. RU 2041768 C1, 20.08.1995. RU 2351429 C1, 10.04.2009. WO 01/21342 A1, 29.03.2001. RU 2060099 C1, 20.05.1996. US 4674556 A, 23.06.1987. 

Имя заявителя: Институт машиноведения и металлургии ДВО РАН (RU) 
Изобретатели: Стулов Вячеслав Викторович (RU) 
Патентообладатели: Институт машиноведения и металлургии ДВО РАН (RU) 

Реферат


Изобретение относится к металлургии. Установка содержит промежуточный ковш (1), промежуточное устройство (2) для подвода расплава через сопла (4), разливочные валки (5), термопару для измерения температуры охлаждающей среды и регулятор ее расхода, устройство для разогрева поверхности разливочных валков (16), пирометр для измерения температуры поверхности валков (17), устройство для контроля уровня заливаемого в разливочные валки металла (28), механизм регулирования зазора между разливочными валками и систему автоматического регулирования работы разливочных валков. Разливочные валки (5) снабжены боковыми вертикальными стенками (14) и выполнены в виде высокотемпературных тепловых труб с подачей охлаждающей среды на охлаждение валков. Сопла (4) промежуточного устройства (2) выполнены в виде насадок из огнеупорного материала со щелевыми отверстиями. Обеспечивается снижение брака лент по трещинам за счет высокой эффективности охлаждения разливочных валков. 1 з.п. ф-лы, 3 ил.

Дирекция сайта "Промышленная Сибирь"
Россия, г.Омск, ул.Учебная, 199-Б, к.408А
Сайт открыт 01.11.2000
© 2000-2018 Промышленная Сибирь
Разработка дизайна сайта:
Дизайн-студия "RayStudio"